>┊
首页 | 最新需求 | 最新现货 | IC库存 | 供应商 | IC英文资料库 | IC中文资料库 | IC价格 | 电路图 | 应用资料 | 技术资料
 IC型号: 
您现在的位置:首页 >  IC英文资料库 进入手机版 
 
资料编号:1049371
 
资料名称:TPS2377PW
 
文件大小: 433K
   
说明
 
介绍:
IEEE 802.3af PoE POWERED DEVICE CONTROLLERS
 
 


: 点此下载
 
1
浏览型号TPS2377PW的Datasheet PDF文件第2页
2
浏览型号TPS2377PW的Datasheet PDF文件第3页
3
浏览型号TPS2377PW的Datasheet PDF文件第4页
4
浏览型号TPS2377PW的Datasheet PDF文件第5页
5
浏览型号TPS2377PW的Datasheet PDF文件第6页
6
浏览型号TPS2377PW的Datasheet PDF文件第7页
7
浏览型号TPS2377PW的Datasheet PDF文件第8页
8
浏览型号TPS2377PW的Datasheet PDF文件第9页
9
 
本平台电子爱好着纯手工中文简译:截至2020/5/17日,支持英文词汇500个
D−8 PW−8
www.ti.com
FEATURESAPPLICATIONS
1
2
3
4
5
6
7
8
vss
UVLO
det
RTN
PG
VDD
ILIM
1
2
3
4
5
6
7
8
vss
n/c
det
RTN
PG
VDD
ILIM
tps2375/77
(顶部 查看)
TPS2376
(顶部 查看)
描述
TPS2375
SMAJ58A
数据 至
以太网 phy
VDD
vss
det
RTN
PG
数据 至
以太网
PHY
1
3
6
4
5
7
8
至 直流/直流
变频器
ILIM
2
RJ−45
DF01S
2 地点
备注: 类 3 pd 描绘.
pg 上拉 电阻 是 可选.
TX
rx
备用
备用
v
dd
输入
电流
v
RTN
v
检测 Classify
电源 向上 &放大器; 涌流
类 3
(pg-rtn)
100
k
100 v
100
f,
(det)
1 %
(ilim)
178 k

1 %
(iclass)
357

1 %
100 v
0.1
f,
10 %
备注:全部 voltages 与 尊重 至 vss.
电流
TPS2375
TPS2376
TPS2377
SLVS525A–APRIL2004–REVISEDSEPTEMBER2004
ieee802.3afpoepowereddevicecontrollers
VoIPPhones
fullysupportsieee802.3afspecification
WLANAccessPoints
integrated0.58-
,100-v,低-sideswitch
SecurityCameras
15-kvsystemlevelesdcapable
InternetAppliances
supportsuseoflow-costsiliconrectifiers
POSTerminals
ProgrammableInrushCurrentControl
fixed450-macurrentlimit
FixedandAdjustableUVLOOptions
开漏极,电源-goodreporting
OvertemperatureProtection
工业温度:-40
°
Cto85
°
c
8-pinsoicandtssoppackages
theseeasy-至-use8-pinintegratedcircuitscontainallofthefeaturesneededtodevelopanieee802.3af
compliantpowereddevice(pd).thetps2375familyisasecondgenerationpdc(pdcontroller)特色
100-vratingsandatrueopen-排水管,电源-goodfunction.
inadditiontothebasicfunctionsofdetection,classificationandundervoltagelockout(uvlo),thesecontrollers
includeanadjustableinrushlimitingfeature.thetps2375has802.3afcompliantuvlolimits,thetps2377has
遗留问题
uvlolimits,andthetps2376hasaprogrammableuvlowithadedicatedinputpin.
thetps2375familyspecificationsincorporateavoltageoffsetof1.5vbetweenitslimitsandtheieee802.3af
specificationstoaccommodatetherequiredinputdiodebridgesusedtomakethepdpolarityinsensitive.
additionalresourcescanbefoundonthetiwebsitewww.ti.com.
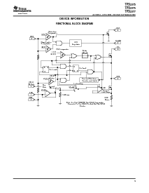
figure1.typicalapplicationcircuitandstartupwaveforms
pleasebeawarethatanimportantnoticeconcerningavailability,标准保修,anduseincriticalapplicationsoftexas
instrumentssemiconductorproductsanddisclaimerstheretoappearsattheendofthisdatasheet.
productiondatainformationiscurrentasofpublicationdate.
copyright©2004,texasinstrumentsincorporated
ProductsconformtospecificationsperthetermsoftheTexas
instrumentsstandardwarranty.productionprocessingdoesnot
必要包括测试所有参数.
资料评论区:
点击回复标题作者最后回复时间

标 题:
内 容:
用户名:
手机号:    (*未登录用户需填写手机号,手机号不公开,可用于网站积分.)
      
关于我们 | 联系我们
电    话13410210660             QQ : 84325569   点击这里与集成电路资料查询网联系
联系方式: E-mail:CaiZH01@163.com