>┊
首页 | 最新需求 | 最新现货 | IC库存 | 供应商 | IC英文资料库 | IC中文资料库 | IC价格 | 电路图 | 应用资料 | 技术资料
 IC型号: 
您现在的位置:首页 >  IC英文资料库 进入手机版 
 
资料编号:1080400
 
资料名称:TSC80251G2D 
 
文件大小: 899732K
   
说明
 
介绍:
8/16-bit Microcontroller with Serial Communication Interfaces - ROMless 
 
 


: 点此下载
 
1
浏览型号TSC80251G2D 的Datasheet PDF文件第2页
2
浏览型号TSC80251G2D 的Datasheet PDF文件第3页
3
浏览型号TSC80251G2D 的Datasheet PDF文件第4页
4
浏览型号TSC80251G2D 的Datasheet PDF文件第5页
5
浏览型号TSC80251G2D 的Datasheet PDF文件第6页
6
浏览型号TSC80251G2D 的Datasheet PDF文件第7页
7
浏览型号TSC80251G2D 的Datasheet PDF文件第8页
8
浏览型号TSC80251G2D 的Datasheet PDF文件第9页
9
 
本平台电子爱好着纯手工中文简译:截至2020/5/17日,支持英文词汇500个
rev. 一个 - 将 7, 1999 1
TSC80251G2D
8/16-有点 微控制器 串行 通信
接口
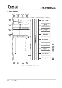
1. 描述
TSC80251G2D 产品 derivatives
t
EMIC
微控制器 家庭 基于 开启 8/16-有点
C251 体系结构. 这个 家庭 产品 量身定制
8/16-有点 微控制器 应用程序 要求 一个
增加 说明书 吞吐量, 一个 减少 操作
频率 一个 较大 可寻址 记忆 空间.
体系结构 可以 提供 一个 重大 代码 尺寸 减少
compiling c 程序 同时 完全 保存
遗留问题 C51 总成 例程.
TSC80251G2D derivatives 管脚 软件
兼容 标准 80c51/外汇/rx/rx+
扩展 片上 数据 记忆 (1 Kbyte ram) 向上
256 千字节 外部 代码 数据. 另外,
TSC83251G2D TSC87251G2D 提供 片上
代码 记忆: 32 千字节 rom 32 千字节 非易失存储器/
OTPROM 分别.
他们 提供 透明 增强功能 Intel’s
8xC251Sx 家庭 一个 附加 同步 串行
链接 控制器 (sslc 支撑
2
c,
µ
电线 SPI
协议), 一个 键盘 中断 接口, 一个 专用
波特 费率 发电机 用于 uart, 电源 管理
特点.
TSC80251G2D derivatives 优化 用于 速度
用于 电源 消费 开启 一个 电压 范围.
备注:
这个 数据表 提供 技术类 描述 TSC80251G2D derivatives. 用于 进一步 信息 开启 设备 用法, 请求
TSC80251 Programmer’s 指南 TSC80251G1D 设计 指南.
2. 典型 应用程序
ISDN 接线端子
高速 调制解调器
PABX (soho)
线 卡片
DVD rom 玩家
打印机
绘图仪
扫描仪
银行 机器
Barcode 读者
智能 卡片 读者
高端 数字 显示器
高端 Joysticks
资料评论区:
点击回复标题作者最后回复时间

标 题:
内 容:
用户名:
手机号:    (*未登录用户需填写手机号,手机号不公开,可用于网站积分.)
      
关于我们 | 联系我们
电    话13410210660             QQ : 84325569   点击这里与集成电路资料查询网联系
联系方式: E-mail:CaiZH01@163.com