>┊
首页 | 最新需求 | 最新现货 | IC库存 | 供应商 | IC英文资料库 | IC中文资料库 | IC价格 | 电路图 | 应用资料 | 技术资料
 IC型号: 
您现在的位置:首页 >  IC英文资料库 进入手机版 
 
资料编号:211534
 
资料名称:CA3154E
 
文件大小: 78.37K
   
说明
 
介绍:
TV Sync/AGC/Horizontal Signal Processor
 
 


: 点此下载
 
1
浏览型号CA3154E的Datasheet PDF文件第2页
2
浏览型号CA3154E的Datasheet PDF文件第3页
3
浏览型号CA3154E的Datasheet PDF文件第4页
4
浏览型号CA3154E的Datasheet PDF文件第5页
5
浏览型号CA3154E的Datasheet PDF文件第6页
6
 
本平台电子爱好着纯手工中文简译:截至2020/5/17日,支持英文词汇500个
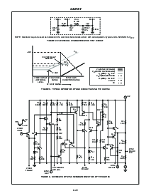
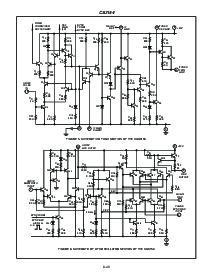
8-42
将 1999
CA3154
tv 同步/agc/水平 信号 处理器
特点
水平 振荡器 与 afc
同步 separator 与 噪声 免疫
频闪 agc 系统
lf agc 输出
延迟 产出 用于 前进 或 反向 agc 调谐器
内部 噪声 阈值
高阻抗 视频 输入
选择 的 双 外部 时间 常量 用于 同步
separator 噪声 免疫
rf agc 延迟 外部 受控
输出 短路 保护
描述
这 ca3154 是 一个 单片 综合 电路 tv 信号
处理器 设计 用于 使用 入点 颜色 或 单色
接收器. 电路 功能 包括 一个 水平 振荡器 与
afc, 一个 同步 separator, 和 一个 键控 agc 系统. 这 agc
系统 提供 输出 信号 用于 如果 (反向) 和 调谐器
(前进 和/或 反向). 这 宽 频率-范围
水平 振荡器 有 高 稳定性 在 503.5khz. 当 这
ca3154 是 已使用 入点 连接词 与 水平/垂直
倒计时 电路, 这 需要 用于 水平 和 垂直 保持
控件 是 已淘汰.
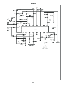
引出线
CA3154
(pdip)
顶部 查看
零件 号码 信息
零件 号码
温度
范围 (
o
c) 包装
pkg.
否.
CA3154E -40 至 85 16 ld pdip e16.3
14
15
16
9
13
12
11
10
1
2
3
4
5
7
6
8
视频 输入
同步 9月
比较 同步 输入
horiz 锯齿 输入
osc 相位 输入
osc 输出
osc 四边形 输入
horiz 脉冲 输入
如果 增益 卡箍
如果 agc
调谐器 rev. agc
调谐器 fwd agc
horiz afc 过滤器
供应 电压
agc 过滤器
注意事项: 这些 设备 是 敏感 至 静电 放电. 用户 应该 跟着 适当的 集成电路 搬运 程序.
版权
©
harris 公司 1999
文件 号码
1183.2
[ /标题
(ca31
54)
/sub-
项目
(tv
同步/一个
gc/ho
rizon-
tal 信号-
nal
进程-
sor)
/autho
右 ()
/钥匙-
字词
(哈尔-
ris
semi-
con-
喷射器,
TV
同步
进程-
sor,
hori-
zontal
振荡器-
托尔,
hori-
zontal
进程-
sor,
同步
separa-
托尔,
AFC
cir-
cuit,
AGC
cir-
废弃的 产品
否 推荐 更换
呼叫 中央 应用程序 1-800-442-7747
或 电子邮件: centapp@harris.com
资料评论区:
点击回复标题作者最后回复时间

标 题:
内 容:
用户名:
手机号:    (*未登录用户需填写手机号,手机号不公开,可用于网站积分.)
      
关于我们 | 联系我们
电    话13410210660             QQ : 84325569   点击这里与集成电路资料查询网联系
联系方式: E-mail:CaiZH01@163.com