>┊
首页 | 最新需求 | 最新现货 | IC库存 | 供应商 | IC英文资料库 | IC中文资料库 | IC价格 | 电路图 | 应用资料 | 技术资料
 IC型号: 
您现在的位置:首页 >  IC英文资料库 进入手机版 
 
资料编号:216662
 
资料名称:CDP1854ACDX
 
文件大小: 95.46K
   
说明
 
介绍:
Programmable Universal Asynchronous Receiver/Transmitter (UART)
 
 


: 点此下载
 
1
浏览型号CDP1854ACDX的Datasheet PDF文件第2页
2
浏览型号CDP1854ACDX的Datasheet PDF文件第3页
3
浏览型号CDP1854ACDX的Datasheet PDF文件第4页
4
浏览型号CDP1854ACDX的Datasheet PDF文件第5页
5
浏览型号CDP1854ACDX的Datasheet PDF文件第6页
6
浏览型号CDP1854ACDX的Datasheet PDF文件第7页
7
浏览型号CDP1854ACDX的Datasheet PDF文件第8页
8
浏览型号CDP1854ACDX的Datasheet PDF文件第9页
9
 
本平台电子爱好着纯手工中文简译:截至2020/5/17日,支持英文词汇500个
5-42
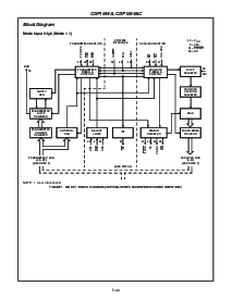
特点
两个 操作 模式
- 模式 0 - 功能上 兼容 与 行业
类型 这样的 作为 这 tr1602a 和 cdp6402
- 模式 1 - 接口 直接 与 cdp1800-系列
微处理器 无 附加 组件
已满 或 一半 双工 操作
奇偶校验, 框架 和 超支 错误 检测
波特 费率
- 直流 至 200k 比特/s 在 v
dd
. . . . . . . . . . . . . . . . . . . . 5V
- 直流 至 400k 比特/s 在 v
dd
. . . . . . . . . . . . . . . . . . . . 10V
完全 可编程 与 外部 可选择 字
长度 (5-8 比特), 奇偶校验 抑制, 甚至/奇数 parity, 和
1, 1-1/2, 或 2 停止 比特
false 开始 有点 检测
描述
这 cdp1854a 和 cdp1854ac 是 硅栅 cmos
通用 异步 接收器/变送器 (uart) cir-
cuits. 他们 是 设计 至 提供 这 必要的 格式化
和 控制 用于 接口 之间 串行 和 平行 数据.
用于 示例, 这些 uarts 可以 是 已使用 至 接口 之间
一个 外围设备 或 终端 与 串行 我/o 端口 和 这 8-有点
cdp1800-系列 微处理器 平行 数据 总线 系统.
这 cdp1854a 是 有能力 的 已满 双工 操作, 我.e?.,
同时 换算 的 串行 输入 数据 至 平行 出点-
put 数据 和 平行 输入 数据 至 串行 输出 数据.
的 两个 模式 由 使用 这 模式 控制 输入. 当 这
输入 是 高 (模式 = 1), 这 cdp1854a 是 直接 相容性-
ble 与 这 cdp1800-系列 微处理器 系统 无
附加 接口 电路. 当 这 模式 输入 是 低
(模式 = 0), 这 设备 是 功能上 兼容 与 印度河-
试试看 标准 uart’s 这样的 作为 这 tr1602a 和 cdp6402. 它
是 也 管脚 兼容 与 这些 类型, 除了 那 管脚 2 是
已使用 用于 这 模式 控制 输入.
这 cdp1854a 和 这 cdp1854ac 是 功能上 identi-
cal. 这 cdp1854a 有 一个 推荐 操作 电压
范围 的 4v 至 10.5v, 和 这 cdp1854ac 有 一个 recom-
已修补 操作 电压 范围 的 4v 至 6.5v.
订购 信息
包装
温度
范围
5v/200k
波特
10v/400k
波特
pkg.
否.
PDIP -40
o
c 至 +85
o
c CDP1854ACE CDP1854AE
e40.6
预烧 CDP1854ACEX CDP1854AEX
e40.6
PLCC -40
o
c 至 +85
o
c CDP1854ACQ CDP1854AQ
n44.65
SBDIP -40
o
c 至 +85
o
c CDP1854ACD CDP1854AD
d40.6
预烧 CDP1854ACDX -
d40.6
march 1997
cdp1854a,
CDP1854AC
可编程 通用 异步
接收器/变送器 (uart)
文件 号码
1193.2
注意事项: 这些 设备 是 敏感 至 静电 放电; 跟着 适当的 集成电路 搬运 程序.
http://www.intersil.com 或 407-727-9207
|
版权
©
intersil 公司 1999
资料评论区:
点击回复标题作者最后回复时间

标 题:
内 容:
用户名:
手机号:    (*未登录用户需填写手机号,手机号不公开,可用于网站积分.)
      
关于我们 | 联系我们
电    话13410210660             QQ : 84325569   点击这里与集成电路资料查询网联系
联系方式: E-mail:CaiZH01@163.com