>┊
首页 | 最新需求 | 最新现货 | IC库存 | 供应商 | IC英文资料库 | IC中文资料库 | IC价格 | 电路图 | 应用资料 | 技术资料
 IC型号: 
您现在的位置:首页 >  IC英文资料库 进入手机版 
 
资料编号:316174
 
资料名称:IRF6646
 
文件大小: 245.72K
   
说明
 
介绍:
DirectFET Power MOSFET
 
 


: 点此下载
 
1
浏览型号IRF6646的Datasheet PDF文件第2页
2
浏览型号IRF6646的Datasheet PDF文件第3页
3
浏览型号IRF6646的Datasheet PDF文件第4页
4
浏览型号IRF6646的Datasheet PDF文件第5页
5
浏览型号IRF6646的Datasheet PDF文件第6页
6
浏览型号IRF6646的Datasheet PDF文件第7页
7
浏览型号IRF6646的Datasheet PDF文件第8页
8
浏览型号IRF6646的Datasheet PDF文件第9页
9
 
本平台电子爱好着纯手工中文简译:截至2020/5/17日,支持英文词汇500个
www.irf.com 1
06/08/05
IRF6646
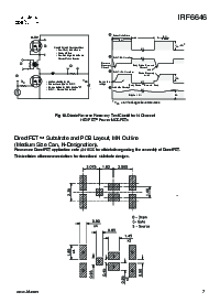
DirectFET
电源 场效应晶体管
DirectFET
ISOMETRIC
适用 directfet 大纲 和 基材 大纲 (请参见 p.7,8 用于 详细信息)
无花果 1.
典型 导通电阻 vs. 闸门 电压
典型 数值 (除非 否则 指定)
描述
这 irf6646 联合收割机 这 最新 hexfet® 电源 场效应晶体管 硅 技术 与 这 高级 directfet
tm
包装 至 实现 这
最低 开启状态 电阻 入点 一个 包装 那 有 这 占地面积 的 一个 所以-8 和 仅 0.7 mm 配置文件. 这 directfet 包装 是 兼容 与
当 应用程序 备注 一个-1035 是 跟踪 关于 这 制造业 方法 和 流程. 这 directfet 包装 允许 双侧面
冷却 至 最大化 热 转让 入点 电源 系统, 改善 上一个 最好 热 电阻 由 80%.
这 irf6646 是 优化 用于 主要 侧面 桥梁 拓扑 入点 隔离 直流-直流 应用程序, 用于 宽 范围 通用 输入 电信 应用程序
(36v - 75v), 和 用于 次要 侧面 同步 整改 入点 受规管 直流-直流 拓扑. 这 减少 合计 损失 入点 这 设备 耦合
与 这 高 水平 的 热 业绩 启用 高 效率 和 低 温度, 哪个 是 钥匙 用于 系统 可靠性 我mprovements,
和 使 这个 设备 理想 用于 高 业绩 隔离 直流-直流 转换器.
sq sx st MQ MX MT
rohs 符合 包含 否 铅 或 bromide
低 配置文件 (&指示灯;0.7 mm)
双 侧面 冷却 兼容
超 低 包装 电感
优化 用于 高 频率 开关
理想 用于 高 业绩 隔离 变频器
主要 开关 插座
优化 用于 同步 整改
低 传导 损失
兼容 与 现有 表面 安装 技术
单击 开启 这个 截面 至 链接 至 这 适当的 技术类 纸张.
单击 开启 这个 截面 至 链接 至 这 directfet 网站.
表面 已安装 开启 1 入点. 方块字 铜 板, 稳定 州.
t
c
已测量 与 热电偶 已安装 至 顶部 (排水管) 的 零件.
重复性 评级; 脉冲 宽度 有限 由 最大值 接合点 温度.
起动 t
j
= 25°c, l = 8.8mh, 右
g
= 25
, 我
作为
= 7.2a.
备注:
绝对 最大值 ratings
参数 单位
v
ds
漏源 电压 v
v
gs
栅极到源极 电压
d
@ t
一个
= 25°c
连续 排水管 电流, v
gs
@ 10v
d
@ t
一个
= 70°c
连续 排水管 电流, v
gs
@ 10v
一个
d
@ t
c
= 25°c
连续 排水管 电流, v
gs
@ 10v
dm
脉冲 排水管 电流
e?
作为
单独 脉冲 雪崩 能源
mJ
ar
雪崩 电流
一个
230
最大值
9.6
68
96
±20
80
12
7.2
v
DSS
v
gs
ds(开启)
80v 最大值 ±20v 最大值
7.6m
@ 10v
q
g tot
q
gd
v
gs(th)
36nC 12nC 3.8v
4 6 8 10 12 14 16
v
gs,
闸门 -至 -来源 电压 (v)
0
0.01
0.02
0.03
0.04
0.05
t
y
p
c
一个
l
d
s
(
o
n
)
(
)
d
= 6.2a
t
j
= 25°c
t
j
= 125°c
无花果 2.
典型 合计 闸门 费用 vs. 栅极到源极
电压
0 10203040
q
g
合计 闸门 费用 (nc)
0.0
2.0
4.0
6.0
8.0
10.0
12.0
v
g
s
,
g
一个
t
e?
-
t
o
-
s
o
u
c
e?
v
o
l
t
一个
g
e?
(
v
)
v
ds
= 40v
v
ds
= 16v
d
= 7.2a
pd - 96995a
资料评论区:
点击回复标题作者最后回复时间

标 题:
内 容:
用户名:
手机号:    (*未登录用户需填写手机号,手机号不公开,可用于网站积分.)
      
关于我们 | 联系我们
电    话13410210660             QQ : 84325569   点击这里与集成电路资料查询网联系
联系方式: E-mail:CaiZH01@163.com