>┊
首页 | 最新需求 | 最新现货 | IC库存 | 供应商 | IC英文资料库 | IC中文资料库 | IC价格 | 电路图 | 应用资料 | 技术资料
 IC型号: 
您现在的位置:首页 >  IC英文资料库 进入手机版 
 
资料编号:564395
 
资料名称:S29CD016G0PQAI012
 
文件大小: 1607.52K
   
说明
 
介绍:
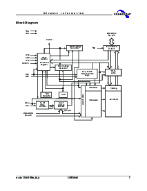
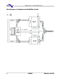
16 Megabit (512 K x 32-Bit) CMOS 2.5 Volt-only Burst Mode, Dual Boot, Simultaneous Read/Write Flash Memory
 
 


: 点此下载
 
1
浏览型号S29CD016G0PQAI012的Datasheet PDF文件第2页
2
浏览型号S29CD016G0PQAI012的Datasheet PDF文件第3页
3
浏览型号S29CD016G0PQAI012的Datasheet PDF文件第4页
4
浏览型号S29CD016G0PQAI012的Datasheet PDF文件第5页
5
浏览型号S29CD016G0PQAI012的Datasheet PDF文件第6页
6
浏览型号S29CD016G0PQAI012的Datasheet PDF文件第7页
7
浏览型号S29CD016G0PQAI012的Datasheet PDF文件第8页
8
浏览型号S29CD016G0PQAI012的Datasheet PDF文件第9页
9
 
本平台电子爱好着纯手工中文简译:截至2020/5/17日,支持英文词汇500个
出版物 号码
s29cd016_00
修订
一个
修正案
4
问题 日期
十一月 5, 2004
这 内容 的 这个 文件 是 主题 至 变更 无 通知. 这个 文件 将 包含 信息 开启 一个 spansion 产品下 发展 由 spansion llc. spansion
llc 储备金 这 右侧 至 变更 或 停止 工作 开启 任何 产品 无 通知. 这 信息 入点 这个 文件 是 提供ed
作为 是
种类 作为 至 其 准确度, 完整性, 可操作性, 健身 用于 特别 目的, merchantability, 不侵权 的 third-派对 权利, 或 任何 其他 保修, 快递, 默示, 或
法定. spansion llc 假设 否 责任 用于 任何 损害赔偿 的 任何 种类 产生 出点 的 这 使用 的 这 信息 入点 这个 document.
S29CD016G
16 兆位 (512 k x 32-有点)
cmos 2.5 仅电压 突发 模式, 双 引导,
数据 工作表
与众不同 特性
体系结构 优点
同时 阅读/写 运营
两个 银行 体系结构: 大型 银行/ 小 银行
数据 可以 是 阅读 从 银行 同时 执行 擦除/
程序 功能 入点 其他 银行
零 延迟 之间 阅读 和 写 运营
用户定义的 x32 数据 总线
双 引导 块
顶部 和 底部 引导 扇区 入点 这 相同 设备
灵活 部门 体系结构
八 8 千字节, 三十 64 千字节, 和 八 8 千字节
扇区
已制造 开启 170 nm 流程 技术
secsi (已固定 硅) 部门 (256 字节数)
工厂 已锁定 和 identifiabl
e?: 16 字节数 用于 安全,
随机 工厂 电子 串行 号码; 余数
将 是 客户 数据 编程 由 spansion™
客户 可上锁:
可以 是 阅读, 编程, 或
已擦除 只是 喜欢 其他 扇区. 一次 已锁定, 数据
不能 是 已更改
可编程 突发 接口
接口 至 任何 高 业绩 处理器
模式 的 突发 阅读 操作:
线性 突发
: 4 双 字词 和 8 双 字词
与 包装 周围
程序 操作
能力 至 执行 同步 和 异步
写 运营 的 突发 配置 注册
设置 独立
单独 电源 供应 操作
优化 用于 2.5 至 2.75 电压 阅读, 擦除, 和
程序 运营
兼容性 与 电子元件工业联合会 标准 (jc42.4)
软件 兼容 与 单电源 供应 闪光灯
向后兼容 与 amd am29lv 和 am29f
和 富士通 mbm29lv 和 mbm29f 闪光灯 回忆
业绩 特性
高 业绩 阅读 访问权限
初始/随机 访问权限 次 作为 快 作为 54 ns
突发 访问权限 时间 作为 快 作为 9 ns 用于 球 网格 阵列
包装
超 低 电源 消费
突发 模式 阅读: 90 ma @ 66 mhz 最大值,
程序/擦除: 50 ma 最大值
备用 模式: cmos: 60 µa 最大值
1 百万 写 循环次数 按 部门 典型
20 年份 数据 保留 典型
versatilei/o™ 控制
设备 生成 数据 输出 电压 和 容忍
数据 输入 电压 作为 已确定 由 这 电压 开启
这 v
io
管脚
1.65 v 至 2.75 v 兼容 我/o 信号
3.6 v 宽容 我/o 信号
软件 特点
持久性 部门 保护
一个 命令 部门 保护 方法 至 锁
组合 的 个人 扇区 和 部门 团体
至 防止 程序 或 擦除 运营 内 那
部门 (需要 仅 v
抄送
级别)
密码 部门 保护
一个 复杂的 部门 保护 方法 至 锁
组合 的 个人 扇区 和 部门 团体
至 防止 程序 或 擦除 运营 内 那
部门 使用 一个 用户可定义 64-有点 密码
支架 普通 闪光灯 接口 (cfi)
解锁 旁路 程序 命令
减少 总体 编程 时间 当 签发
多个 程序 命令 序列
data# 轮询 和 切换 比特
提供 一个 软件 方法 的 检测 程序 或
擦除 操作 竣工
硬件 特点
程序 挂起/简历 &放大器; 擦除 挂起/
简历
暂停 程序 或 擦除 运营 至 允许
阅读, 编程, 或 擦除 入点 相同 银行
硬件 重置 (reset#), 准备就绪/busy# (ry/
by#), 和 写 保护 (wp#) 输入
acc 输入
加速 编程 时间 用于 较高 吞吐量
期间 系统 生产
包装 选项
80-管脚 pqfp
80-球 fortified bga
资料评论区:
点击回复标题作者最后回复时间

标 题:
内 容:
用户名:
手机号:    (*未登录用户需填写手机号,手机号不公开,可用于网站积分.)
      
关于我们 | 联系我们
电    话13410210660             QQ : 84325569   点击这里与集成电路资料查询网联系
联系方式: E-mail:CaiZH01@163.com