>┊
首页 | 最新需求 | 最新现货 | IC库存 | 供应商 | IC英文资料库 | IC中文资料库 | IC价格 | 电路图 | 应用资料 | 技术资料
 IC型号: 
您现在的位置:首页 >  IC英文资料库 进入手机版 
 
资料编号:842887
 
资料名称:LM139AJ
 
文件大小: 518K
   
说明
 
介绍:
QUAD DIFFERENTIAL COMPARATORS
 
 


: 点此下载
 
1
浏览型号LM139AJ的Datasheet PDF文件第2页
2
浏览型号LM139AJ的Datasheet PDF文件第3页
3
浏览型号LM139AJ的Datasheet PDF文件第4页
4
浏览型号LM139AJ的Datasheet PDF文件第5页
5
浏览型号LM139AJ的Datasheet PDF文件第6页
6
浏览型号LM139AJ的Datasheet PDF文件第7页
7
浏览型号LM139AJ的Datasheet PDF文件第8页
8
浏览型号LM139AJ的Datasheet PDF文件第9页
9
 
本平台电子爱好着纯手工中文简译:截至2020/5/17日,支持英文词汇500个
   
   
  
slcs006l − october1979 − 修订 六月 2004
1
post 办公室 框 655303
达拉斯市, 德州 75265
单独 供应 或 双 供应品
宽 范围 的 供应 电压:
− 最大值 评级 ...2 v 至 36 v
− 已测试 至 30 v . . . 非-v 设备
− 已测试 至 32 v ...v-后缀 设备
低 电源电流 排水管 独立 的
供应 电压 . . . 0.8 ma 典型值
低 输入 偏差 电流 . . . 25 不适用 典型值
低 输入 偏移量 电流 ...3 不适用 典型值
(lm139)
低 输入 偏移量 电压
共模 输入 电压 范围
包括 接地
差速器 输入 电压 范围 相等 至
最大额定值 供应 电压 . . .
±
36 v
低 输出 饱和度 电压
输出 兼容 与 ttl, mos, 和
CMOS
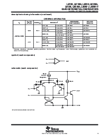
描述/订购 信息
这些 设备 组成 的 四 独立
电压比较器那 是 设计 至 操作
从 一个 单独 电源 供应 结束 一个 宽 范围 的
电压. 操作 从 双 供应品 也 是
可能 作为长 作为 这 dif会议之间 这 两个
供应品 是 2 v 至 36 v, 和 v
抄送
是 在 最小 1.5 v
更多 正 比 这 输入 共模
电压. 电流 排水管 是 独立 的 这
供应 电压. 这 产出 可以 是 已连接 至
其他 集电极开路 产出 至 实现
有线-和 关系.
这 lm139 和 lm139a 是 表征 用于 操作 结束 这 已满 军事 温度 范围 的
−55
°
c 至 125
°
c. 这 lm239 和 lm239a 是 表征 用于 操作 从 −25
°
c 至 125
°
c. 这 lm339
和 lm339a 是 表征 用于 操作 从 0
°
c 至 70
°
c. 这 lm2901 是 表征 用于 操作 从
−40
°
c 至 125
°
c.
请 是 意识到 那 一个 重要 通知 关于 可用能力, 标准 保修, 和 使用 入点 关键 应用程序 of
德州 仪器仪表 半导体 产品 和 免责声明 对此 出现 在 这 结束 的 这个 数据 工作表.
版权
2004, 德州 仪器仪表 股份公司
        
         
       
   
1
2
3
4
5
6
7
14
13
12
11
10
9
8
1OUT
2OUT
v
抄送
2IN−
2IN+
1IN−
1IN+
OUT3
OUT4
4IN+
4IN−
3IN+
3IN−
lm139, lm139a . . . d, j, 或 w 包装
LM239 . . . d, n, 或 pw 包装
LM239A ...d p组件
lm339, lm339a . . . d, db, n, ns, 或 pw 包装
LM2901 . . . d, n, ns, 或 pw 包装
(顶部 查看)
3212019
910111213
4
5
6
7
8
18
17
16
15
14
nc
4IN+
nc
4IN−
v
抄送
nc
2IN−
nc
2IN+
2OUT
1OUT
nc
3IN−
3IN+
3OUT
4OUT
1IN−
1IN+
nc
lm139, lm139a . . . fk 包装
(顶部 查看)
nc − 否 内部 连接
        
       
        
资料评论区:
点击回复标题作者最后回复时间

标 题:
内 容:
用户名:
手机号:    (*未登录用户需填写手机号,手机号不公开,可用于网站积分.)
      
关于我们 | 联系我们
电    话13410210660             QQ : 84325569   点击这里与集成电路资料查询网联系
联系方式: E-mail:CaiZH01@163.com