>┊
首页 | 最新需求 | 最新现货 | IC库存 | 供应商 | IC英文资料库 | IC中文资料库 | IC价格 | 电路图 | 应用资料 | 技术资料
 IC型号: 
您现在的位置:首页 >  IC英文资料库 进入手机版 
 
资料编号:933064
 
资料名称:MSP430F1232IPWR
 
文件大小: 917K
   
说明
 
介绍:
MIXED SIGNAL MICROCONTROLLER
 
 


: 点此下载
 
1
浏览型号MSP430F1232IPWR的Datasheet PDF文件第2页
2
浏览型号MSP430F1232IPWR的Datasheet PDF文件第3页
3
浏览型号MSP430F1232IPWR的Datasheet PDF文件第4页
4
浏览型号MSP430F1232IPWR的Datasheet PDF文件第5页
5
浏览型号MSP430F1232IPWR的Datasheet PDF文件第6页
6
浏览型号MSP430F1232IPWR的Datasheet PDF文件第7页
7
浏览型号MSP430F1232IPWR的Datasheet PDF文件第8页
8
浏览型号MSP430F1232IPWR的Datasheet PDF文件第9页
9
 
本平台电子爱好着纯手工中文简译:截至2020/5/17日,支持英文词汇500个
 
  
slas361d − january 2002 − 修订 8月 2004
1
post 办公室 框 655303
达拉斯市, 德州 75265
低 供应 电压 范围 1.8 v 至 3.6 v
超低功耗 消费:
− 活动 模式: 200
µ
一个 在 1 mhz, 2.2 v
− 备用 模式: 0.7
µ
一个
− 关 模式 (ram 保留): 0.1
µ
一个
五个 电源 正在保存 模式
唤醒 从 备用 模式 入点 较少
比 6
µ
s
16-有点 risc 体系结构, 125 ns
说明书 循环 时间
基本 时钟 模块 配置:
− 各种 内部 电阻
− 单独 外部 电阻
− 32-khz 水晶
− 高 频率 水晶
− 谐振器
− 外部 时钟 来源
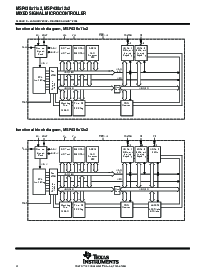
16-有点 计时器_一个 与 三个
捕获/比较 寄存器
10-有点, 200-ksps 一个/d 变频器 与
内部 参考, 样品-和-保持,
自动扫描, 和 数据 转让 控制器
串行 通信 接口 (usart0)
与 软件可选 异步
uart 或 同步 spi
(msp430x12x2 仅)
串行 板载 编程,
否 外部 编程 电压 需要
可编程 代码 保护 由
安全 保险丝
msp430x11x2 家庭 成员 包括:
msp430f1122: 4kb + 256b 闪光灯 记忆
256b ram
msp430f1132: 8kb + 256b 闪光灯 记忆
256b ram
可用 入点 20-管脚 塑料 sowb, 20-管脚
塑料 tssop 和 32-管脚 qfn 软件包
msp430x12x2 家庭 成员 包括:
msp430f1222: 4kb + 256b 闪光灯 记忆
256b ram
msp430f1232: 8kb + 256b 闪光灯 记忆
256b ram
可用 入点 28-管脚 塑料 sowb, 28-管脚
用于 完成 模块 说明, 请参见 这
,
文学 号码 slau049
描述
这 德州 仪器仪表 msp430 家庭 的 超低功耗 微控制器 组成 的 几个 设备 特色
不同的 集 的 外围设备 有针对性的 用于 各种 应用程序. 这 体系结构, 合并 与 五个 低 电源
模式 是优化 至 实现 扩展 蓄电池 生活 入点 便携式 测量 应用程序. 这 设备 特点
一个 强大的 16-有点 risc cpu, 16-有点 寄存器, 和 常数 发电机 那 属性 至 最大值 代码 ef效率.
这 数字 受控 振荡器 (dco) 允许 唤醒 从 低功耗 模式 至 活动 模式 入点 较少 比 6
µ
s.
这 msp430x11x2 和 msp430x12x2 系列 是 超低功耗 混合 信号 微控制器 与 一个 内置
16-有点 计时器, 10-有点 一个/d 变频器 与 综合 参考 和 数据 转让 控制器 (dtc) 和 十四 或
二十二 我/o 针脚. 入点 加法, 这 msp430x12x2 系列 微控制器 有 内置 通信
能力 使用 异步 (uart) 和 同步 (spi) 协议.
数字 信号 加工 与 这 16-有点 risc 业绩 启用 有效 系统 解决方案 这样的 作为 玻璃
breakage 检测 与 信号 分析 (包括 波浪 数字 过滤器 算法). 另一个 面积 的 应用程序 是
入点 单机 rf 传感器.
请 是 意识到 那 一个 重要 通知 关于 可用性, 标准 保修, 和 使用 入点 关键 应用程序 的
德州 仪器仪表 半导体 产品 和 免责声明 对此 出现 在 这 结束 的 这个 数据 工作表.
版权
2002 − 2004, 德州 仪器仪表 股份公司
        
         
       
   
资料评论区:
点击回复标题作者最后回复时间

标 题:
内 容:
用户名:
手机号:    (*未登录用户需填写手机号,手机号不公开,可用于网站积分.)
      
关于我们 | 联系我们
电    话13410210660             QQ : 84325569   点击这里与集成电路资料查询网联系
联系方式: E-mail:CaiZH01@163.com