>┊
首页 | 最新需求 | 最新现货 | IC库存 | 供应商 | IC英文资料库 | IC中文资料库 | IC价格 | 电路图 | 应用资料 | 技术资料
 IC型号: 
您现在的位置:首页 >  IC英文资料库 进入手机版 
 
资料编号:943191
 
资料名称:TSC2200IPWR
 
文件大小: 645K
   
说明
 
介绍:
PDA ANALOG INTERFACE CIRCUIT
 
 


: 点此下载
 
1
浏览型号TSC2200IPWR的Datasheet PDF文件第2页
2
浏览型号TSC2200IPWR的Datasheet PDF文件第3页
3
浏览型号TSC2200IPWR的Datasheet PDF文件第4页
4
浏览型号TSC2200IPWR的Datasheet PDF文件第5页
5
浏览型号TSC2200IPWR的Datasheet PDF文件第6页
6
浏览型号TSC2200IPWR的Datasheet PDF文件第7页
7
浏览型号TSC2200IPWR的Datasheet PDF文件第8页
8
浏览型号TSC2200IPWR的Datasheet PDF文件第9页
9
 
本平台电子爱好着纯手工中文简译:截至2020/5/17日,支持英文词汇500个
www.ti.com
生产 数据 信息 是 电流 作为 的 出版物 日期.
产品 符合 至 规格 按 这 条款 的 德州 仪器仪表
标准 保修. 生产 加工 是否 不 必然 包括
测试 的 全部 参数.
版权 © 2001-2004, 德州 仪器仪表 股份公司
请 是 意识到 那 一个 重要 通知 关于 可用性, 标准 保修, 和 使用 入点 关键 应用程序 的
德州 仪器仪表 半导体 产品 和 免责声明 对此 出现 在 这 结束 的 这个 数据 工作表.
特点
4-电线 触摸 屏幕 接口 和
4-由-4 键盘 接口
单独 2.7v 至 3.6v 供应
串行 接口
内部 检测 的 屏幕 触摸
和 键盘
可编程 8-, 10-, 或 12-有点
分辨率
可编程 取样 费率
直接 蓄电池 测量 (0.5v 至 6v)
片上 温度 测量
触摸-压力 测量
已满 掉电 控制
tssop-28 和 qfn-32 软件包
应用程序
个人 数字 助理
细胞 电话
mp3 玩家
pda 模拟 接口 电路
描述
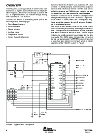
这 tsc2200 是 一个 完成 pda 模拟 接口 电路. 它
包含 一个 完成 12-有点, 模数转换 (一个/d) 电阻
触摸 屏幕 变频器 包括 驱动程序, 这 控制 至 mea-
当然 触摸 压力, 键盘 控制器, 和 一个 8-有点 数字-
至-模拟 (d/一个) 变频器 输出 用于 lcd 对比度 控制.
这 tsc2200 接口 至 这 主机 控制器 通过 一个
标准 spi™ 串行 接口. 这 tsc2200 优惠 程序-
mable 分辨率 和 取样 费率 从 8- 至 12-比特 和 向上
至 125khz 至 容纳 不同的 屏幕 尺码.
这 tsc2200 也 优惠 两个 蓄电池-测量 输入
有能力 的 阅读 蓄电池 电压 向上 至 6v, 同时 操作
在 仅 2.7v. 它 也 有 一个 片上 温度 传感器
有能力 的 阅读 0.3
°
c 分辨率. 这 tsc2200 是 可用
入点 一个 tssop-28 和 一个 qfn-32 包装.
TSC2200
sbas191f – 二月 2001 – 修订 april 2004
spi 是 一个 已注册 商标 的 摩托罗拉.
美国 专利 否. 624639.
一个/d 变频器
内部 2.5v
参考
mux
串行
接口
控制
逻辑
d/一个 变频器
MISO
ss
SCLK
MOSI
DAV
PENIRQ
KBIRQ
触摸 面板
驱动程序
温度 传感器
蓄电池 显示器
蓄电池 显示器
X+
x
Y+
y
v
BAT1
v
BAT2
时钟
AUX1
AUX2
v
参考
ARNG
一个
出点
键盘 扫描仪
和 州 控制
C1 C2 C3 C4 R1 R2 R3 R4
t
s
c
2
2
0
0
t
s
c
2
2
0
0
资料评论区:
点击回复标题作者最后回复时间

标 题:
内 容:
用户名:
手机号:    (*未登录用户需填写手机号,手机号不公开,可用于网站积分.)
      
关于我们 | 联系我们
电    话13410210660             QQ : 84325569   点击这里与集成电路资料查询网联系
联系方式: E-mail:CaiZH01@163.com