>┊
首页 | 最新需求 | 最新现货 | IC库存 | 供应商 | IC英文资料库 | IC中文资料库 | IC价格 | 电路图 | 应用资料 | 技术资料
 IC型号: 
您现在的位置:首页 >  IC英文资料库 进入手机版 
 
资料编号:964896
 
资料名称:AD7521JN
 
文件大小: 264K
   
说明
 
介绍:
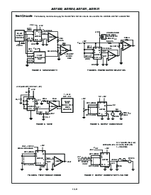
10-Bit, 12-Bit Binary Multiplying D/A Converter
 
 


: 点此下载
 
1
浏览型号AD7521JN的Datasheet PDF文件第2页
2
浏览型号AD7521JN的Datasheet PDF文件第3页
3
浏览型号AD7521JN的Datasheet PDF文件第4页
4
浏览型号AD7521JN的Datasheet PDF文件第5页
5
浏览型号AD7521JN的Datasheet PDF文件第6页
6
浏览型号AD7521JN的Datasheet PDF文件第7页
7
浏览型号AD7521JN的Datasheet PDF文件第8页
8
浏览型号AD7521JN的Datasheet PDF文件第9页
9
 
本平台电子爱好着纯手工中文简译:截至2020/5/17日,支持英文词汇500个
10-7
特点
ad7520/ad7530, 10-有点 分辨率; 8-有点, 9-bit 和
10-有点 线性度
ad7521/ad7531, 12-有点 分辨率; 8-有点, 9-bit 和
10-有点 线性度
低 电源 耗散 (最大值) . . . . . . . . . . . . . . . .20mW
低 非线性 tempco 在 2ppm 的 fsr/
o
c
电流 沉降 时间 至 0.05% 的 fsr . . . . . . . . 1.0
µ
s
供应 电压 范围 . . . . . . . . . . . . . . . .
±
5v 至 +15v
ttl/cmos 兼容
已满 输入 静态 保护
/883b 已处理 版本 可用
描述
这 ad7520/ad7530 和 ad7521/ad7531 是 单片,
高 准确度, 低 成本 10-有点 和 12-有点 分辨率,
乘法 数模转换 转换器 (dac). intersil’
瘦 开启 cmos 加工 给出 向上 至 10-有点 准确度
与 ttl/cmos 兼容 操作. 数字 输入 是 完全
保护 反对 静态 放电 由 二极管 至 接地 和
正 供应.
典型 应用程序 包括 数字/模拟 接口,
乘法 和 事业部, 可编程 电源 供应品,
积分器 和 衰减器, 等
这 ad7530 和 ad7531 是 相同 至 这 ad7520 和
ad7521, 分别, 与 这 例外 的 输出 泄漏
电流 和 馈通 特定.
订购 信息
引出线
零件 号码 线性度 (inl, dnl) 温度 范围 (
o
c) 包装 pkg. 否.
ad7520jn, ad7530jn 0.2% (8-有点) 0 至 70 16 ld pdip e16.3
ad7520kn, ad7530kn 0.1% (9-有点) 0 至 70 16 ld pdip e16.3
ad7521jn, ad7531jn 0.2% (8-有点) 0 至 70 18 ld pdip e18.3
ad7521kn, ad7531kn 0.1% (9-有点) 0 至 70 18 ld pdip e18.3
ad7520ln, ad7530ln 0.05% (10-有点) -40 至 85 16 ld pdip e16.3
ad7521ln, ad7531ln 0.05% (10-有点) -40 至 85 18 ld pdip e18.3
AD7520JD 0.2% (8-有点) -25 至 85 16 ld cerdip f16.3
AD7520KD 0.1% (9-有点) -25 至 85 16 ld cerdip f16.3
AD7520LD 0.05% (10-有点) -25 至 85 16 ld cerdip f16.3
ad7520sd, ad7520sd/883b 0.2% (8-有点) -55 至 125 16 ld cerdip f16.3
ad7520ud, ad7520ud/883b 0.05% (10-有点) -55 至 125 16 ld cerdip f16.3
ad7520, ad7530
(cerdip, pdip)
顶部 查看
ad7521, ad7531
(pdip)
顶部 查看
14
15
16
9
13
12
11
10
1
2
3
4
5
7
6
8
OUT1
OUT2
有点 1 (msb)
有点 2
有点 3
有点 5
有点 4
反馈
V+
有点 10 (lsb)
有点 9
有点 8
有点 7
有点 6
v
参考
OUT1
OUT2
有点 1 (msb)
有点 2
有点 3
有点 5
有点 4
反馈
V+
有点 11
有点 9
有点 8
有点 7
v
参考
10
11
12
13
14
15
16
17
18
9
8
7
6
5
4
3
2
1
有点 12 (lsb)
有点 10
有点 6
8月 1997
ad7520, ad7530,
ad7521, ad7531
10-有点, 12-有点, 乘法 d/一个 转换器
文件 号码
3104.1
注意事项: 这些 设备 是 敏感 至 静电 放电; 跟着 适当的 集成电路 搬运 程序.
http://www.intersil.com 或 407-727-9207
|
版权
©
intersil 公司 1999
资料评论区:
点击回复标题作者最后回复时间

标 题:
内 容:
用户名:
手机号:    (*未登录用户需填写手机号,手机号不公开,可用于网站积分.)
      
关于我们 | 联系我们
电    话13410210660             QQ : 84325569   点击这里与集成电路资料查询网联系
联系方式: E-mail:CaiZH01@163.com