>┊
首页 | 最新需求 | 最新现货 | IC库存 | 供应商 | IC英文资料库 | IC中文资料库 | IC价格 | 电路图 | 应用资料 | 技术资料
 IC型号: 
您现在的位置:首页 >  IC英文资料库 进入手机版 
 
资料编号:1085491
 
资料名称:MT8870D-1
 
文件大小: 647812K
   
说明
 
介绍:
ISO2-CMOS
 
 


: 点此下载
 
1
浏览型号MT8870D-1的Datasheet PDF文件第2页
2
浏览型号MT8870D-1的Datasheet PDF文件第3页
3
浏览型号MT8870D-1的Datasheet PDF文件第4页
4
浏览型号MT8870D-1的Datasheet PDF文件第5页
5
浏览型号MT8870D-1的Datasheet PDF文件第6页
6
浏览型号MT8870D-1的Datasheet PDF文件第7页
7
浏览型号MT8870D-1的Datasheet PDF文件第8页
8
浏览型号MT8870D-1的Datasheet PDF文件第9页
9
 
本平台电子爱好着纯手工中文简译:截至2020/5/17日,支持英文词汇500个
4-11
mt8870d/mt8870d-1
综合 dtmf 接收器
特点
完成 dtmf 接收器
低 电源 消费
内部 增益 设置 放大器
可调 护卫 时间
中央 office 质量
掉电 模式
抑制 模式
向后 兼容 与
mt8870c/mt8870c-1
应用程序
接收器 系统 用于 british 电信 (bt) 或
cept 规格 (mt8870d-1)
分页 系统
中继器 系统/移动电话 收音机
信贷 卡片 系统
远程 控制
个人 计算机
电话 接听 机器
描述
这 mt8870d/mt8870d-1 是 一个 完成 dtmf
接收器 集成 两者都有 这 bandsplit filter 和
数字 解码器 功能. 这 filter 截面 用途
已切换 电容器 技术 用于 高 和 低
集团 filters; 这 解码器 用途
数字 计数
技术 至 检测 和 解码 全部 16 dtmf 音调-
对 进入 一个 4-有点 代码. 外部 组件 计数 是
最小化 由 开启 芯片 规定 的 一个 差速器 输入
放大器, 时钟 振荡器 和 锁定 三态 总线
接口.
订购 信息
mt8870de/de-1 18 管脚 塑料 倾角
mt8870ds/ds-1 18 管脚 soic
mt8870dn/dn-1 20 管脚 ssop
-40
°
c 至 +85
°
c
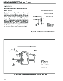
图 1 - 功能 块 图表
PWDN
入点 +
入点 -
gs
OSC1 OSC2 st/gt est 标准 TOE
Q1
Q2
Q3
Q4
VDD vss VRef inh
偏差
电路
拨号盘
音调
过滤器
高 集团
过滤器
低 集团
过滤器
数字
检测
算法
代码
变频器
和 门闩
st
GT
转向
逻辑
芯片
电源
芯片
偏差
VRef
缓冲区
零 穿越
探测器
至 全部
芯片
时钟
问题 5 march 1997
iso
2
-cmos
资料评论区:
点击回复标题作者最后回复时间

标 题:
内 容:
用户名:
手机号:    (*未登录用户需填写手机号,手机号不公开,可用于网站积分.)
      
关于我们 | 联系我们
电    话13410210660             QQ : 84325569   点击这里与集成电路资料查询网联系
联系方式: E-mail:CaiZH01@163.com