>┊
首页 | 最新需求 | 最新现货 | IC库存 | 供应商 | IC英文资料库 | IC中文资料库 | IC价格 | 电路图 | 应用资料 | 技术资料
 IC型号: 
您现在的位置:首页 >  IC英文资料库 进入手机版 
 
资料编号:1124275
 
资料名称:MC33972
 
文件大小: 1496K
   
说明
 
介绍:
Multiple Switch Detection Interface with Suppressed Wake-Up
 
 


: 点此下载
 
1
浏览型号MC33972的Datasheet PDF文件第2页
2
浏览型号MC33972的Datasheet PDF文件第3页
3
浏览型号MC33972的Datasheet PDF文件第4页
4
浏览型号MC33972的Datasheet PDF文件第5页
5
浏览型号MC33972的Datasheet PDF文件第6页
6
浏览型号MC33972的Datasheet PDF文件第7页
7
浏览型号MC33972的Datasheet PDF文件第8页
8
浏览型号MC33972的Datasheet PDF文件第9页
9
 
本平台电子爱好着纯手工中文简译:截至2020/5/17日,支持英文词汇500个
文件 订单 号码:
MC33972
rev 4.0, 02/2006
飞思卡尔 半导体
技术类 数据
* 这个 文件 包含 某些 信息 开启 一个 新建 产品.
规格 和 信息 此处是 主题 至 变更 无 通知.
© 飞思卡尔 半导体, 入点c., 2006. 全部 权利 保留.
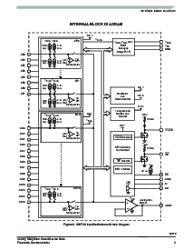
接口 与 抑制
唤醒
这 33972 多个 开关 检测 接口 与 抑制
唤醒 是 设计 至 检测 这 结账 和 打开 的 向上 至 22
开关 联系人. 这开关 状态, 要么打开 或 已关闭, 是
已转移 至 这 microprocesso右 单位 (mcu) 通过 一个 串行
外围设备 接口 (spi). 这 设备 也 特点 一个 22-至-1 模拟
多路复用器 用于 阅读 输入 作为 模拟. 这 模拟 输入 信号 是
缓冲 和 提供 开启 这 amux输出 终端 用于 这 mcu 至
阅读.
这 33972 设备 有 两个 模式 的 操作, 正常 和 睡眠.
正常 模式 允许 编程 的这 设备 和 供应品 开关
联系人 与 上拉 或 下拉 current 作为 它 显示器 开关 变更
的 州. 这 睡眠 模式 提供 低 静态 电流, 哪个
使 这 33972 理想 用于 汽车 和 工业 产品
要求 低 睡眠 州 电流.
特点
设计 至 操作 5.5v
v
PWR
26v
开关 输入 电压 范围 -14v 至 v
PWR
, 40v 最大值
接口 直接 至 mpu 使用 3.3v /5.0v spi 协议
可选择 唤醒 开启 变更 的 州
可选择 润湿 电流 (16ma 或 2.0ma)
8 可编程 输入 (开关 至 蓄电池 或 接地)
14 开关-至-接地 输入
•V
PWR
备用 电流 100
µ
一个 典型, v
dd
备用 电流 20
µ
一个 典型
活动 中断 (
智力
) 开启 变更-的-开关 州
铅-免费 包装 指定 由 后缀 代码 ew
图 1. 33972 简化 应用程序 图表
多个 开关
检测 接口 与
抑制 唤醒
dwb 后缀
ew 后缀 (铅-免费)
98ARH99137A
32-终端 soicw
33972
33972A
订购 信息
设备
温度
范围 (t
一个
)
包装
mc33972dwb/r2
-40°c 至 125°c
32 soicw
mc33972ew/r2 -40°c 至 125°c 32 soicw
pc33972aew/r2 -40°c 至 125°c 32 soicw
33972
v
蝙蝠
v
蝙蝠
SP0
SP1
SP7
SG0
SG1
SG12
SG13
VPWR
VDD
AMUX
唤醒
智力
所以
si
SCLK
cs
mcu
AN0
智力
MISO
MOSI
SCLK
cs
电源 供应
LVI
看门狗
重置
启用
v
蝙蝠
v
dd
v
dd
资料评论区:
点击回复标题作者最后回复时间

标 题:
内 容:
用户名:
手机号:    (*未登录用户需填写手机号,手机号不公开,可用于网站积分.)
      
关于我们 | 联系我们
电    话13410210660             QQ : 84325569   点击这里与集成电路资料查询网联系
联系方式: E-mail:CaiZH01@163.com