>┊
首页 | 最新需求 | 最新现货 | IC库存 | 供应商 | IC英文资料库 | IC中文资料库 | IC价格 | 电路图 | 应用资料 | 技术资料
 IC型号: 
您现在的位置:首页 >  IC英文资料库 进入手机版 
 
资料编号:146546
 
资料名称:LM2904AVQPWR
 
文件大小: 452.3K
   
说明
 
介绍:
DUAL OPERATIONAL AMPLIFIERS
 
 


: 点此下载
 
1
浏览型号LM2904AVQPWR的Datasheet PDF文件第2页
2
浏览型号LM2904AVQPWR的Datasheet PDF文件第3页
3
浏览型号LM2904AVQPWR的Datasheet PDF文件第4页
4
浏览型号LM2904AVQPWR的Datasheet PDF文件第5页
5
浏览型号LM2904AVQPWR的Datasheet PDF文件第6页
6
浏览型号LM2904AVQPWR的Datasheet PDF文件第7页
7
浏览型号LM2904AVQPWR的Datasheet PDF文件第8页
8
浏览型号LM2904AVQPWR的Datasheet PDF文件第9页
9
 
本平台电子爱好着纯手工中文简译:截至2020/5/17日,支持英文词汇500个
   
   
  
slos068p − 六月 1976 − 修订 九月 2004
1
post 办公室 框 655303
达拉斯市, 德州 75265
宽 供应 范围:
− 单独 供应 ...3 v 至 32 v
(26 v 用于 lm2904)
− 或 双 供应品 . . .
1.5 v 至
16 v
(
13 v 用于 lm2904)
低 电源电流 排水管, 独立 的
供应 电压 . . . 0.7 ma 典型值
共模 输入 电压 范围
包括 接地, 允许 直接 感应
近 接地
低 输入 偏差 和 偏移量 参数:
一个 版本 ...2 mv 典型值
− 输入 偏移量 电流 ...2 不适用 典型值
− 输入 偏差 电流 . . . 20 不适用 典型值
一个 版本 . . . 15 不适用 典型值
差速器 输入 电压 范围 相等 至
最大额定值 供应 电压 ...32 v
(26 v 用于 lm2904)
开环 差速器 电压
放大 . . . 100 v/mv 典型值
内部 频率 补偿
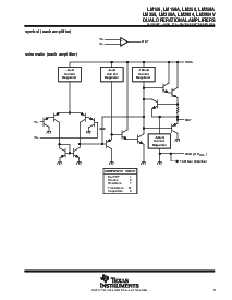
描述/订购 信息
这些 设备 组成 的 两个 独立,
高-增益, 频率-已补偿 运营
放大器 设计 至 操作 从 一个 单独
供应 结束 一个 宽 范围 的 电压. 操作 从 拆分 供应品 也 是 可能 如果 这 差异 之间
这 两个 供应品 是 3 v 至 32 v (3 v 至 26 v 用于 这 lm2904), 和 v
抄送
是 在 最小 1.5 v 更多 正 比 这
输入 共模 电压. 这 低 电源电流 排水管 是 独立 的 这 震级 的 这 供应
电压.
应用程序 包括 传感器 放大器, 直流 放大 块, 和 全部 这 常规 运营
放大器 电路 那 现在 可以 是 已实施 更多 很容易 入点 单独-供应-电压 系统. 用于 示例,
这些 设备 可以 是 操作 直接 从 这 标准 5-v 供应 已使用 入点 数字 系统 和 很容易 可以
提供 这 必填项 接口 电子产品 无 附加
±
5-v 供应品.
请 是 意识到 那 一个 重要 通知 关于 可用能力, 标准 保修, 和 使用 入点 关键 应用程序 的
德州 仪器仪表 半导体 产品 和 免责声明 对此 出现 在 这 结束 的 这个 数据 工作表.
版权
2004, 德州 仪器仪表 股份公司
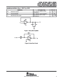
        
         
       
   
1
2
3
4
8
7
6
5
1OUT
1IN−
1IN+
v
抄送
2OUT
2IN−
2IN+
lm158, lm158a ...jg p组件
lm258, lm258a . . . d, dgk, 或 p 包装
LM358 . . . d, dgk, p, ps, 或 pw 包装
LM358A . . . d, dgk, p, 或 pw 包装
LM2904 . . . d, dgk, p, ps, 或 pw 包装
(顶部 查看)
3212019
910111213
4
5
6
7
8
18
17
16
15
14
nc
2OUT
nc
2IN−
nc
nc
1IN−
nc
1IN+
nc
lm158, lm158a
(顶部 查看)
nc
1OUT
nc
nc nc
nc
nc
CC+
v
2IN+
nc − 否 内部 连接
        
       
        
资料评论区:
点击回复标题作者最后回复时间

标 题:
内 容:
用户名:
手机号:    (*未登录用户需填写手机号,手机号不公开,可用于网站积分.)
      
关于我们 | 联系我们
电    话13410210660             QQ : 84325569   点击这里与集成电路资料查询网联系
联系方式: E-mail:CaiZH01@163.com