>┊
首页 | 最新需求 | 最新现货 | IC库存 | 供应商 | IC英文资料库 | IC中文资料库 | IC价格 | 电路图 | 应用资料 | 技术资料
 IC型号: 
您现在的位置:首页 >  IC英文资料库 进入手机版 
 
资料编号:168968
 
资料名称:SP3223EBEY/TR
 
文件大小: 279.84K
   
说明
 
介绍:
Intelligent +3.0V to +5.5V RS-232 Transceivers
 
 


: 点此下载
 
1
浏览型号SP3223EBEY/TR的Datasheet PDF文件第2页
2
浏览型号SP3223EBEY/TR的Datasheet PDF文件第3页
3
浏览型号SP3223EBEY/TR的Datasheet PDF文件第4页
4
浏览型号SP3223EBEY/TR的Datasheet PDF文件第5页
5
浏览型号SP3223EBEY/TR的Datasheet PDF文件第6页
6
浏览型号SP3223EBEY/TR的Datasheet PDF文件第7页
7
浏览型号SP3223EBEY/TR的Datasheet PDF文件第8页
8
浏览型号SP3223EBEY/TR的Datasheet PDF文件第9页
9
 
本平台电子爱好着纯手工中文简译:截至2020/5/17日,支持英文词汇500个
1
日期: 6/2/04 sp3223eb/3243eb +3.0v 至 +5.5v rs-232 收发器 © 版权 2004 sipex 公司
sp3223eb/3243eb
智能 +3.0v 至 +5.5v rs-232 收发器
这 sp3223eb
sp3243eb 产品 是 rs-232 收发器 解决方案 预期 用于
便携式 或 手持 应用程序 这样的 作为 笔记本 和 掌上 计算机. 这 sp3223eb
和 sp3243eb 使用 一个 内部 高-效率, 电荷泵 电源 供应 那 需要 仅
0.1
µ
f 电容器 入点 3.3v 操作. 这个 费用 泵 和 sipex's 驾驶员 体系结构 允许
这 sp3223eb/3243eb 系列 至 交付 符合 rs-232 业绩 从 一个 单独 电源
供应 测距 从 +3.0v 至 +5.5v. 这 sp3223eb 是 一个 2-驾驶员/2-接收器 设备, 和 这
sp3243eb 是 一个 3-驾驶员/5-接收器 设备 理想 用于 笔记本电脑/笔记本 计算机 和 pda
应用程序. 这 sp3243eb 包括 一个 互补 接收器 那 遗迹 警报 至
显示器 一个 外部 设备's 戒指 指示 信号 同时 这 设备 是 停机.
州 当 一个 rs-232 电缆 是 已连接 和 一个 已连接 外围设备 是 翻转 开启. 否则,
这 设备 自动 关闭 本身 向下 图纸 较少 比 1
µ
一个.
满足 真 eia/tia-232-f 标准
从 一个 +3.0v 至 +5.5v 电源 供应
interoperable 与 eia/tia-232 和
adheres 至 eia/tia-562 向下 至 一个 +2.7v
电源 来源
自动 在线
®
电路 自动
唤醒 向上 从 一个 1
µ
一个 停机
最小值 250kbps 数据 费率 下 荷载
受规管 费用 泵 收益率 稳定
rs-232 产出 无论如何 的 v
抄送
变化
增强型 esd 规格:
+15kv 人类 车身 型号
+
15kv iec1000-4-2 空气 放电
+
8kv iec1000-4-2 联系人 放电
描述
选择 表
适用 u.s. 专利 - 5,306,954; 和 其他 专利 待定.
ecivedseilppuSrewoP232-高级
srevirD
232-高级
srevieceR
lanretxE
stnenopmoC
enil-nootua
®
yrtiucriC
etats-3lttfo.开启
sniP
BE3223PSV5.5+otv0.3+22sroticapac4Se?yse?Y02
BE3423PSV5.5+otv0.3+35sroticapac4Se?yse?Y82
®
v-
1
2
3
4
17
18
19
20
5
6
7
16
15
14
停机
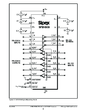
C1+
V+
c1-
C2+
c2-
在线
en
1
入点
v
抄送
t
1
出点
状态
8
9
10
11
12
13
2
入点
2
出点
SP3223EB
t
2
出点
t
1
入点
t
2
入点
1
出点
现在 可用 入点 铅 免费 包装
资料评论区:
点击回复标题作者最后回复时间

标 题:
内 容:
用户名:
手机号:    (*未登录用户需填写手机号,手机号不公开,可用于网站积分.)
      
关于我们 | 联系我们
电    话13410210660             QQ : 84325569   点击这里与集成电路资料查询网联系
联系方式: E-mail:CaiZH01@163.com