>┊
首页 | 最新需求 | 最新现货 | IC库存 | 供应商 | IC英文资料库 | IC中文资料库 | IC价格 | 电路图 | 应用资料 | 技术资料
 IC型号: 
您现在的位置:首页 >  IC英文资料库 进入手机版 
 
资料编号:216709
 
资料名称:SN74CBTD3384CDWRE4
 
文件大小: 360.31K
   
说明
 
介绍:
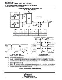
10-BIT FET BUS SWITCH WITH LEVEL SHIFTING 5-V BUS SWITCH WITH -2-V UNDERSHOOT PROTECTION
 
 


: 点此下载
 
1
浏览型号SN74CBTD3384CDWRE4的Datasheet PDF文件第2页
2
浏览型号SN74CBTD3384CDWRE4的Datasheet PDF文件第3页
3
浏览型号SN74CBTD3384CDWRE4的Datasheet PDF文件第4页
4
浏览型号SN74CBTD3384CDWRE4的Datasheet PDF文件第5页
5
浏览型号SN74CBTD3384CDWRE4的Datasheet PDF文件第6页
6
浏览型号SN74CBTD3384CDWRE4的Datasheet PDF文件第7页
7
浏览型号SN74CBTD3384CDWRE4的Datasheet PDF文件第8页
8
浏览型号SN74CBTD3384CDWRE4的Datasheet PDF文件第9页
9
 
本平台电子爱好着纯手工中文简译:截至2020/5/17日,支持英文词汇500个

      
      
SCDS133A−september 2003 − 修订 october 2003
1
post 办公室 框 655303
达拉斯市, 德州 75265
下冲 保护 用于 off-隔离 开启
一个 和 b 端口 向上 至 −2 v
综合 二极管 至 v
抄送
提供 5-v 输入
向下 至 3.3-v 输出 水平 轮班
双向 数据 流量, 与 近零
传播 延迟
低 开启状态 电阻 (右
开启
)
特性 (右
开启
= 3
典型)
低 输入/输出 电容 最小化
(c
io(关)
= 5 pf 典型)
数据 和 控制 输入 提供
下冲 卡箍 二极管
v
抄送
操作 范围 从 4.5 v 至 5.5 v
数据 我/操作系统 支持 0 至 5-v 信令 级别
(0.8-v, 1.2-v, 1.5-v, 1.8-v, 2.5-v, 3.3-v, 5-v)
控制 输入 可以 是 驱动 由 ttl 或
5-v/3.3-v cmos 产出
支架 部分断电 模式
操作
闩锁 业绩 超过 100 ma 按
jesd 78, 类 二
esd 业绩 已测试 按 jesd 22
− 2000-v 人体 型号
(a114-b, 类 二)
− 1000-v 已充电-设备 型号 (c101)
支架 两者都有 数字 和 模拟
应用程序: 记忆 交错, 总线
隔离, 低失真 信号 浇口
db, dbq, dgv, dw, 或 pw 包装
(顶部 查看)
1OE
1B1
1A1
1A2
1B2
1B3
1A3
1A4
1B4
1B5
1A5
v
抄送
2B5
2A5
2A4
2B4
2B3
2A3
2A2
2B2
2B1
2A1
2OE
1
2
3
4
5
6
7
8
9
10
11
12
24
23
22
21
20
19
18
17
16
15
14
13
描述/订购 信息
订购 信息
t
一个
包装
可订购
零件 号码
顶侧
标记
soic − dw
导管 SN74CBTD3384CDW
cbtd3384csoic − dw
胶带 和 卷轴 SN74CBTD3384CDWR
CBTD3384C
ssop − db
导管 SN74CBTD3384CDB
CC384C
−40
°
c 至 85
°
c
ssop − db
胶带 和 卷轴 SN74CBTD3384CDBR
CC384C
−40
°
c 至 85
°
c
ssop (qsop) − dbq 胶带 和 卷轴 SN74CBTD3384CDBQR CBTD3384C
tssop − pw
导管 SN74CBTD3384CPW
cc384ctssop − pw
胶带 和 卷轴 SN74CBTD3384CPWR
CC384C
tvsop − dgv 胶带 和 卷轴 SN74CBTD3384CDGVR CC384C
包装 图纸, 标准 填料 工程量, 热 数据, 符号化, 和 pcb 设计 准则
是 可用 在 www.ti.com/sc/包装.
        
         
       
   
版权
2003, 德州 仪器仪表 股份公司
请 是 意识到 那 一个 重要 通知 关于 可用能力, 标准 保修, 和 使用 入点 关键 应用程序 的
德州 仪器仪表 半导体 产品 和 免责声明 对此 出现 在 这 结束 的 这个 数据 工作表.
资料评论区:
点击回复标题作者最后回复时间

标 题:
内 容:
用户名:
手机号:    (*未登录用户需填写手机号,手机号不公开,可用于网站积分.)
      
关于我们 | 联系我们
电    话13410210660             QQ : 84325569   点击这里与集成电路资料查询网联系
联系方式: E-mail:CaiZH01@163.com