>┊
首页 | 最新需求 | 最新现货 | IC库存 | 供应商 | IC英文资料库 | IC中文资料库 | IC价格 | 电路图 | 应用资料 | 技术资料
 IC型号: 
您现在的位置:首页 >  IC英文资料库 进入手机版 
 
资料编号:254554
 
资料名称:AM29LV320DB90R
 
文件大小: 1258.58K
   
说明
 
介绍:
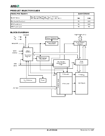
32 Megabit (4 M x 8-Bit/2 M x 16-Bit) CMOS 3.0 Volt-only, Boot Sector Flash Memory
 
 


: 点此下载
 
1
浏览型号AM29LV320DB90R的Datasheet PDF文件第2页
2
浏览型号AM29LV320DB90R的Datasheet PDF文件第3页
3
浏览型号AM29LV320DB90R的Datasheet PDF文件第4页
4
浏览型号AM29LV320DB90R的Datasheet PDF文件第5页
5
浏览型号AM29LV320DB90R的Datasheet PDF文件第6页
6
浏览型号AM29LV320DB90R的Datasheet PDF文件第7页
7
浏览型号AM29LV320DB90R的Datasheet PDF文件第8页
8
浏览型号AM29LV320DB90R的Datasheet PDF文件第9页
9
 
本平台电子爱好着纯手工中文简译:截至2020/5/17日,支持英文词汇500个
july 2003
这 以下内容 文件 指定 spansion 记忆 产品 那 是 现在 提供 由 两者都有 高级
微型 设备 和 富士通. 虽然 这 文件 是 已标记 与 这 姓名 的 这 公司 那 原稿-
目地 已开发 这 规格, 这些 产品 将 是 提供 至 客户 的 两者都有 amd 和
富士通.
连续性 的 规格
那里 是 否 变更 至 这个 数据表 作为 一个 结果 的 提供 这 设备 作为 一个 spansion 产品. 任何
变更 那 有 被 制造 是 这 结果 的 正常 数据表 改进 和 是 已注明 入点 这
文件 修订 摘要, 在哪里 支持. 未来 例行程序 修订 将 发生 当 适当的,
和 变更 将 是 已注明 入点 一个 修订 摘要.
连续性 的 订购 零件 编号
这些 产品, 请 使用 仅 这 订购 零件 编号 已列出 入点 这个 文件.
用于 更多 信息
请 联系人 你的 本地 amd 或 富士通 销售办公室 用于 附加 信息 关于 spansion
记忆 解决方案.
Am29LV320D
数据 工作表
出版物 号码
23579
修订
c
修正案
+6
问题 日期
十一月 15, 2004
资料评论区:
点击回复标题作者最后回复时间

标 题:
内 容:
用户名:
手机号:    (*未登录用户需填写手机号,手机号不公开,可用于网站积分.)
      
关于我们 | 联系我们
电    话13410210660             QQ : 84325569   点击这里与集成电路资料查询网联系
联系方式: E-mail:CaiZH01@163.com