>┊
首页 | 最新需求 | 最新现货 | IC库存 | 供应商 | IC英文资料库 | IC中文资料库 | IC价格 | 电路图 | 应用资料 | 技术资料
 IC型号: 
您现在的位置:首页 >  IC英文资料库 进入手机版 
 
资料编号:260298
 
资料名称:DG408/883
 
文件大小: 395.01K
   
说明
 
介绍:
Single 8-Channel/Differential 4-Channel CMOS Analog Multiplexers
 
 


: 点此下载
 
1
浏览型号DG408/883的Datasheet PDF文件第2页
2
浏览型号DG408/883的Datasheet PDF文件第3页
3
浏览型号DG408/883的Datasheet PDF文件第4页
4
浏览型号DG408/883的Datasheet PDF文件第5页
5
浏览型号DG408/883的Datasheet PDF文件第6页
6
浏览型号DG408/883的Datasheet PDF文件第7页
7
浏览型号DG408/883的Datasheet PDF文件第8页
8
浏览型号DG408/883的Datasheet PDF文件第9页
9
 
本平台电子爱好着纯手工中文简译:截至2020/5/17日,支持英文词汇500个
5-34
dg408/883,
dg409/883
单独 8-频道/差速器
4-频道 cmos 模拟 多路复用器
描述
这 dg408/883 单独 8-频道 和 dg409/883 差异-
tial 4-频道 单片 cmos 模拟 多路复用器 是
drop-in 更换件 用于 这 受欢迎 dg508a 和 dg509a
系列 设备. 他们 每个 包括 一个 阵列 的 八 模拟
开关, 一个 ttl/cmos 兼容 数字 解码 电路 用于
频道 选择, 一个 电压 参考 用于 逻辑 阈值
和 一个 启用 输入 用于 设备 选择 当 几个 mul-
tiplexers 是 目前.
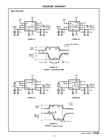
这 dg408/883 和 dg409/883 功能 下部 信号 开启
电阻 (&指示灯;100
) 和 更快 开关 过渡 时间 (t
trans
注射 有 被 减少, 简化 样品 和 保持
应用程序. 这 改进 入点 这 dg408/883 系列 是
制造 可能 由 使用 一个 高电压 硅栅 流程.
一个 外延 图层 防止 这 闩锁 关联的 与 年长
cmos 技术. 电源 供应品 将 是 单端
从 +5v 至 +34v, 或 拆分 从
±
5v 至
±
20v.
这 模拟 开关 是 双边, 同样 匹配 用于 交流电 或
双向 信号. 这 开启 电阻 变化 与 ana-
日志 信号 是 相当 低 结束 一个
±
5v 模拟 输入 范围.
订购 信息
零件
号码
温度
范围 包装
dg408ak/883 -55
o
c 至 +125
o
c 16 铅 cerdip
dg409ak/883 -55
o
c 至 +125
o
c 16 铅 cerdip
特点
这个 电路 是 已处理 入点 符合 至 密耳-标准-
883 和 是 完全 conformant 下 这 条款 的
段落 1.2.1.
导通电阻 100
最大值 (+25
o
c)
低 电源 消费 (p
d
&指示灯;11mw)
快 开关 行动
-t
trans
&指示灯;250ns
-t
开关(en)
&指示灯;150ns
低 费用 注射
升级 从 dg508a/dg509a
ttl, cmos 兼容
单独 或 拆分 供应 操作
应用程序
数据 收购 系统
音频 开关 系统
自动 testers
嗨-相对 系统
样品 和 保持 电路
通信 系统
模拟 选择器 开关
六月 1994
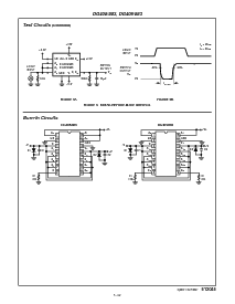
引出线
dg408/883
(cerdip)
顶部 查看
dg409/883
(cerdip)
顶部 查看
14
15
16
9
13
12
11
10
1
2
3
4
5
7
6
8
一个
0
en
v-
s
1
s
2
s
3
d
s
4
一个
1
V+
s
5
s
6
s
7
s
8
一个
2
14
15
16
9
13
12
11
10
1
2
3
4
5
7
6
8
一个
0
en
v-
s
1A
s
2A
s
3A
d
一个
s
4A
一个
1
V+
s
1B
s
3B
s
4B
d
B
s
2B
规格 号码
512045
文件 号码
3688
资料评论区:
点击回复标题作者最后回复时间

标 题:
内 容:
用户名:
手机号:    (*未登录用户需填写手机号,手机号不公开,可用于网站积分.)
      
关于我们 | 联系我们
电    话13410210660             QQ : 84325569   点击这里与集成电路资料查询网联系
联系方式: E-mail:CaiZH01@163.com