>┊
首页 | 最新需求 | 最新现货 | IC库存 | 供应商 | IC英文资料库 | IC中文资料库 | IC价格 | 电路图 | 应用资料 | 技术资料
 IC型号: 
您现在的位置:首页 >  IC英文资料库 进入手机版 
 
资料编号:261779
 
资料名称:MC33887DHR2
 
文件大小: 485.04K
   
说明
 
介绍:
5.0 A H-Bridge with Load Current Feedback
 
 


: 点此下载
 
1
浏览型号MC33887DHR2的Datasheet PDF文件第2页
2
浏览型号MC33887DHR2的Datasheet PDF文件第3页
3
浏览型号MC33887DHR2的Datasheet PDF文件第4页
4
浏览型号MC33887DHR2的Datasheet PDF文件第5页
5
浏览型号MC33887DHR2的Datasheet PDF文件第6页
6
浏览型号MC33887DHR2的Datasheet PDF文件第7页
7
浏览型号MC33887DHR2的Datasheet PDF文件第8页
8
浏览型号MC33887DHR2的Datasheet PDF文件第9页
9
 
本平台电子爱好着纯手工中文简译:截至2020/5/17日,支持英文词汇500个
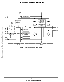
简化 应用程序 图表
5.0 v
V+
电机
mcu
33887
入点
出点
出点
出点
出点
出点
OUT2
OUT1
V+
c
cp
PGND
AGND
fs
IN1
en
D1
IN2
D2
fba/d
33887
33887 简化 应用程序 图表
摩托罗拉
半导体 技术类 数据
© 摩托罗拉, 公司 2004
文件 订单 号码: mc33887
rev 9.0, 10/2004
33887
5.0 一个 h-桥梁 与 荷载 电流
反馈
这 33887 是 一个 单片 h-桥梁 动力右 集成电路 与 一个 荷载 电流 反馈
功能 制作 它 理想 用于 闭环 直流 电机 控制. 这 集成电路 包含
ds(开启)
场效应晶体管
输出
电路. 这 33887 是 能 至 控制 归纳 荷载 与 连续
直流 荷载 电流 向上 至 5.0 一个, 和 与 峰值 电流 活动 限制 之间
5.2 一个 和 7.8 一个. 输出 荷载 可以 是脉冲 宽度 已调制 (pwm-ed) 在
频率 向上 至 10 khz. 这 荷载 电流 反馈 功能 提供 一个
比例 (1/375th 的 这 荷载 电流)恒流 输出 适合 用于
监测 由 一个 微控制器’s 一个/d input. 这个 功能 便利 这 设计
的 闭环 扭矩/速度 控制作为 井 作为 打开 荷载 检测.
一个 故障 状态 输出 终端 reports 欠压, 短 电路, 和
超温 条件. 两个 独立 输入 提供 极性 控制
的 两个 半桥 图腾-杆 产出. 两个 禁用 入点看跌期权 力 这 h-桥梁
产出 至 三态 (展品 高 阻抗).
这 33887 是 参数化 规格ied 结束 一个 脾气ature 范围 的
-40
°
c
t
一个
125
°
c 和 一个 电压 范围 的 5.0 v
V+
28 v. 这 集成电路 可以 也
是 操作 向上 至 40 v 与 dera
特点
5.0 v 至 40 v 连续 操作
120 m
ds(开启)
h-桥梁 mosfets
ttl/cmos 兼容 输入
pwm 频率 向上 至 10 kHz
活动 电流 限制 (法规) 通过 内部 常数 关闭时间
pwm (与 温度-从属 阈值 减少)
输出 短 电路 保护 (短 至 v+ 或 短 至 地)
欠压 停机
故障 状态 报告
睡眠 模式 与 电流 绘制
50
µ
一个 (输入 浮动 或 设置 至 匹配
默认 逻辑 国家)
铅-免费 包装 指定 由 后缀 代码 vw 和 pnb
5.0 一个 h-桥梁 与 荷载
电流 反馈
订购 信息
设备
温度
范围 (t
一个
)
包装
mc33887dh/r2
-40°c 至 125°c
-40°c 至 125°c
-40°c 至 125°c
20 HSOP
pc33887vw/r2
mc33887pnb/r2 36 PQFN
mc33887dwb/r2 54 soicw-ep
dwb 后缀
案例 1390-01
54-终端 soicw-ep
dh 后缀
vw (铅-免费) 后缀
案例 979-04
20-终端 HSOP
pnb (铅-免费) 后缀
案例 1503-01
36-终端 PQFN
33887 简化 应用程序 图表
底部 查看
f
e?
e?
s
c
一个
l
e?
s
e?
m
c
o
n
d
u
c
t
o
,
飞思卡尔 半导体, 公司
用于 更多 信息 开启 这个 产品,
走 至: www.飞思卡尔.com
n
c
.
.
.
资料评论区:
点击回复标题作者最后回复时间

标 题:
内 容:
用户名:
手机号:    (*未登录用户需填写手机号,手机号不公开,可用于网站积分.)
      
关于我们 | 联系我们
电    话13410210660             QQ : 84325569   点击这里与集成电路资料查询网联系
联系方式: E-mail:CaiZH01@163.com