>┊
首页 | 最新需求 | 最新现货 | IC库存 | 供应商 | IC英文资料库 | IC中文资料库 | IC价格 | 电路图 | 应用资料 | 技术资料
 IC型号: 
您现在的位置:首页 >  IC英文资料库 进入手机版 
 
资料编号:321804
 
资料名称:IRFBC30A
 
文件大小: 101.63K
   
说明
 
介绍:
Power MOSFET(Vdss=600V, Rds(on)max=2.2ohm, Id=3.6A)
 
 


: 点此下载
 
1
浏览型号IRFBC30A的Datasheet PDF文件第2页
2
浏览型号IRFBC30A的Datasheet PDF文件第3页
3
浏览型号IRFBC30A的Datasheet PDF文件第4页
4
浏览型号IRFBC30A的Datasheet PDF文件第5页
5
浏览型号IRFBC30A的Datasheet PDF文件第6页
6
浏览型号IRFBC30A的Datasheet PDF文件第7页
7
浏览型号IRFBC30A的Datasheet PDF文件第8页
8
 
本平台电子爱好着纯手工中文简译:截至2020/5/17日,支持英文词汇500个
www.irf.com 1
5/4/00
IRFBC30A
smps 场效应晶体管
HEXFET
®
电源 场效应晶体管
开关 模式 电源 供应 (smps)
不间断 电源 供应
高 速度 电源 开关
好处
应用程序
低 闸门 费用 qg 结果 入点 简单
驱动器 要求
改进 闸门, 雪崩 和 动态
设计验证/dt 坚固耐用
雪崩 电压 和 电流
有效 coss 指定 (请参见 一个 1001)
v
DSS
rds(开启) 最大值
d
600V 2.2
3.6a
典型 smps 拓扑:

单独 晶体管 反激式
参数 最大值 单位
d
@ t
c
= 25°c 连续 排水管 电流, v
gs
@ 10v 3.6
d
@ t
c
= 100°c 连续 排水管 电流, v
gs
@ 10v 2.3 一个
dm
脉冲 排水管 电流
14
p
d
@T
c
= 25°c 电源 耗散 74 w
线性 降额 因素 0.69 w/°c
v
gs
栅极到源极 电压 ± 30 v
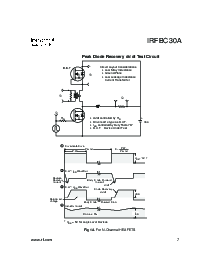
设计验证/dt 峰值 二极管 回收 设计验证/dt
7.0 v/ns
t
j
操作 接合点 和 -55 至 + 150
t
stg
存储 温度 范围
焊接 温度, 用于 10 秒 300 (1.6mm 从 案例 )
°C
安装 torqe, 6-32 或 m3 螺钉 10lbf•in (1.1n•m)
绝对 最大值 额定值
-220AB
SDG
pd- 91889a
备注

通过
是 开启 第页 8
资料评论区:
点击回复标题作者最后回复时间

标 题:
内 容:
用户名:
手机号:    (*未登录用户需填写手机号,手机号不公开,可用于网站积分.)
      
关于我们 | 联系我们
电    话13410210660             QQ : 84325569   点击这里与集成电路资料查询网联系
联系方式: E-mail:CaiZH01@163.com