>┊
首页 | 最新需求 | 最新现货 | IC库存 | 供应商 | IC英文资料库 | IC中文资料库 | IC价格 | 电路图 | 应用资料 | 技术资料
 IC型号: 
您现在的位置:首页 >  IC英文资料库 进入手机版 
 
资料编号:379388
 
资料名称:HIN232CP
 
文件大小: 379.84K
   
说明
 
介绍:
+5V Powered RS-232 Transmitters/Receivers
 
 


: 点此下载
 
1
浏览型号HIN232CP的Datasheet PDF文件第2页
2
浏览型号HIN232CP的Datasheet PDF文件第3页
3
浏览型号HIN232CP的Datasheet PDF文件第4页
4
浏览型号HIN232CP的Datasheet PDF文件第5页
5
浏览型号HIN232CP的Datasheet PDF文件第6页
6
浏览型号HIN232CP的Datasheet PDF文件第7页
7
浏览型号HIN232CP的Datasheet PDF文件第8页
8
浏览型号HIN232CP的Datasheet PDF文件第9页
9
 
本平台电子爱好着纯手工中文简译:截至2020/5/17日,支持英文词汇500个
3-1
tm
文件 号码
3138.7
注意事项: 这些 设备 是 敏感 至 静电 放电; 跟着 适当的 集成电路 搬运 程序.
1-888-intersil 或 321-724-7143
|
intersil 和 设计 是 一个 商标 的 intersil 公司.
|
版权
©
intersil 公司 2000
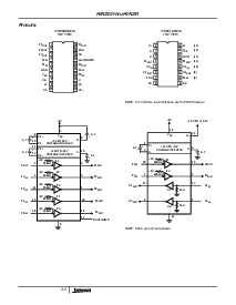
hin230 直通 hin241
+5v 通电 rs-232
变送器/接收器
这 hin230-hin241 家庭 的 rs-232 变送器/接收器
接口 电路 满足 全部 ElA rs-232e v.28 规格,
特别是 适合 用于 那些 应用程序 在哪里
±
12V
不 可用. 他们 需要 一个 单独 +5v 电源 供应 (除了
hin231 和 hin239) 和 功能 板载 费用 泵
电压 转换器 哪个 生成 +10v 和 -10v 供应品
从 这 5v 供应. 这 hin233 和 hin235 需要 否
外部 电容器 理想情况下 适合 用于 应用程序 在哪里
电路 空间 关键. 家庭 设备 报价 一个
品种 的 rs-232 变送器/接收器 组合
容纳 各种 应用程序 (请参见 选择 表).
驱动程序 功能 ttl/cmos 输入 兼容性, 回转-
费率-有限 输出, 和 300
断电 来源 阻抗.
接收器 可以 手柄 向上
±
30v, 一个 3k
7k
输入 阻抗. 这 接收器 也 功能 滞后 至
很大 改善 噪声 拒收.
特点
满足 全部 rs-232e 和 v.28 特定
需要 仅 单独 +5v 电源 供应
- (+5v 和 +12v - hin231 和 hin239)
高 数据 费率. . . . . . . . . . . . . . . . . . . . . . . . . . . 120kbps
hin233 和 hin235 需要 否 外部 电容器
板载 电压 加强肋/逆变器
低 电源 消费
低 电源 停机 功能
三态 ttl/cmos 接收器 产出
多个 驱动程序
-
±
10v 输出 秋千 用于 5v lnput
- 300
断电 来源 阻抗
- 输出 电流 限制
- ttl/cmos 兼容
- 30v/
µ
s 最大值 回转 费率
多个 接收器
-
±
30v 输入 电压 范围
-3k
至 7k
输入 阻抗
- 0.5v 滞后 至 改善 噪声 拒收
应用程序
任何 系统 要求 rs-232 通信 端口
- 计算机 - 便携式, mainframe, 笔记本电脑
- 外围设备 - 打印机 和 接线端子
- 仪器仪表
- 调制解调器
选择 表
零件
号码
电源 供应
电压
号码 的
rs-232
驱动程序
号码 的
rs-232
接收器
外部
组件
低 电源
停机/ttl
三态
号码 的
导联
HIN230 +5V 5 0 4 电容器 是/否 20
HIN231 +5v 和 +7.5v 至 13.2v 2 2 2 电容器 否/否 16
HIN232 +5V 2 2 4 电容器 否/否 16
HIN233 +5V 2 2 否/否 20
HIN234 +5V 4 0 4 电容器 否/否 16
HIN235 +5V 5 5 是/是 24
HIN236 +5V 4 3 4 电容器 是/是 24
HIN237 +5V 5 3 4 电容器 否/否 24
HIN238 +5V 4 4 4 电容器 否/否 24
HIN239 +5v 和 +7.5v 至 13.2v 3 5 2 电容器 否/是 24
HIN240 +5V 5 5 4 电容器 是/是 44
HIN241 +5V 4 5 4 电容器 是/是 28
数据 工作表 将 2000
资料评论区:
点击回复标题作者最后回复时间

标 题:
内 容:
用户名:
手机号:    (*未登录用户需填写手机号,手机号不公开,可用于网站积分.)
      
关于我们 | 联系我们
电    话13410210660             QQ : 84325569   点击这里与集成电路资料查询网联系
联系方式: E-mail:CaiZH01@163.com