>┊
首页 | 最新需求 | 最新现货 | IC库存 | 供应商 | IC英文资料库 | IC中文资料库 | IC价格 | 电路图 | 应用资料 | 技术资料
 IC型号: 
您现在的位置:首页 >  IC英文资料库 进入手机版 
 
资料编号:406862
 
资料名称:IR2102S
 
文件大小: 138.73K
   
说明
 
介绍:
HIGH AND LOW SIDE DRIVER
 
 


: 点此下载
 
1
浏览型号IR2102S的Datasheet PDF文件第2页
2
浏览型号IR2102S的Datasheet PDF文件第3页
3
浏览型号IR2102S的Datasheet PDF文件第4页
4
浏览型号IR2102S的Datasheet PDF文件第5页
5
浏览型号IR2102S的Datasheet PDF文件第6页
6
浏览型号IR2102S的Datasheet PDF文件第7页
7
浏览型号IR2102S的Datasheet PDF文件第8页
8
浏览型号IR2102S的Datasheet PDF文件第9页
9
 
本平台电子爱好着纯手工中文简译:截至2020/5/17日,支持英文词汇500个
初步 数据 工作表 否. pd60043j
典型 连接
特点
浮动 频道 设计 用于 引导程序 操作
完全 运营 至 +600v
宽容 至 负 瞬态 电压
设计验证/dt 免疫
闸门 驱动器 供应 范围 从 10 至 20v
欠压 上锁
5v 施密特触发 输入 逻辑
匹配 传播 延迟 用于 两者都有 频道
出点 的 相位 与 输入 (ir2102/ir21024)
描述
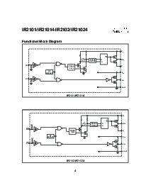
这 ir2101/ir21014/ir2102/ir21024 是 高 v旧,
高 速度 电源 场效应晶体管 和 igbt drivers与 入点-
从属 高 和 低 侧面 引用 输出 陈-
内核. 专有 hvic 和 门闩 即时消息mune cmos技术-
名词化 启用 加固 单片 施工. 这
逻辑 输入 是 兼容 与 标准 cmos 或 lsttl
输出. 这 输出 驱动程序 功能 一个 高 脉冲 电流
缓冲区 舞台 设计 用于 最小值 驾驶员 十字形-导电-
操作. 这 浮动 频道 可以 是 已使用 至 驱动器 一个 n-
频道 电源 场效应晶体管 或 igbt 入点 这 高 侧面 con-
形象 哪个 操作 向上 至 600 volts.
高 和 低 侧面 驾驶员
软件包
产品 摘要
v
偏移量
600v 最大值
o
+/- 130 ma / 270 ma
v
出点
10 - 20v
t
开关
(典型值.) 160 &放大器; 150 ns
延迟 匹配 50 ns
v
抄送
v
B
v
s
ho
locom
hin
lin
lin
hin
向上 至 600v
荷载
v
抄送
v
抄送
v
B
v
s
ho
locom
hin
lin
lin
hin
向上 至 600v
荷载
v
抄送
IR2101
IR2102
ir2101/ir21014
ir2102/ir21024
8 铅 soic 14 铅 soic
14 铅 pdip
8 铅 pdip
资料评论区:
点击回复标题作者最后回复时间

标 题:
内 容:
用户名:
手机号:    (*未登录用户需填写手机号,手机号不公开,可用于网站积分.)
      
关于我们 | 联系我们
电    话13410210660             QQ : 84325569   点击这里与集成电路资料查询网联系
联系方式: E-mail:CaiZH01@163.com