>┊
首页 | 最新需求 | 最新现货 | IC库存 | 供应商 | IC英文资料库 | IC中文资料库 | IC价格 | 电路图 | 应用资料 | 技术资料
 IC型号: 
您现在的位置:首页 >  IC英文资料库 进入手机版 
 
资料编号:432332
 
资料名称:HCPL-315J-XXXE
 
文件大小: 488.54K
   
说明
 
介绍:
0.5 Amp Output Current IGBT Gate Drive Optocoupler
 
 


: 点此下载
 
1
浏览型号HCPL-315J-XXXE的Datasheet PDF文件第2页
2
浏览型号HCPL-315J-XXXE的Datasheet PDF文件第3页
3
浏览型号HCPL-315J-XXXE的Datasheet PDF文件第4页
4
浏览型号HCPL-315J-XXXE的Datasheet PDF文件第5页
5
浏览型号HCPL-315J-XXXE的Datasheet PDF文件第6页
6
浏览型号HCPL-315J-XXXE的Datasheet PDF文件第7页
7
浏览型号HCPL-315J-XXXE的Datasheet PDF文件第8页
8
浏览型号HCPL-315J-XXXE的Datasheet PDF文件第9页
9
 
本平台电子爱好着纯手工中文简译:截至2020/5/17日,支持英文词汇500个
真相 表
v
抄送
- v
ee
v
抄送
- v
ee
“positive going” “negative-going”
led指示灯 (我.e?., 转弯-开启) (我.e?., 转弯-关) v
o
0 - 30 v 0 - 30 v
开启 0 - 11 v 0 - 9.5 v
开启 11 - 13.5 v 9.5 - 12 v 过渡
开启 13.5 - 30 v 12 - 30 v
0.5 放大器 输出 电流 igbt
闸门 驱动器 光耦合器
hcpl-3150 (单独 频道)
hcpl-315j (双 频道)
特点
• 0.5 一个 最小值 峰值 输出
电流
• 15 kv/
µ
s 最小值 普通
模式 拒收 (cmr) 在
v
厘米
= 1500 v
• 1.0 v 最大值 低 水平
输出 电压 (v
ol
)
消除 需要 用于
负 闸门 驱动器
• 我
抄送
= 5 ma 最大值 供应
电流
• 下 电压 锁定
保护 (uvlo) 与
滞后
• 宽 操作 v
抄送
范围:
15 至 30 伏特
• 0.5
µ
s 最大值
传播 延迟
• +/– 0.35
µ
s 最大值 延迟
之间 设备/频道
• 工业 温度
范围:
-40
°
c 至 100
°
c
• hcpl-315j: 频道 一个 至
频道 两个 输出
隔离 = 1500 vrms/1 最小值
• 安全 和 监管
批准:
ul 公认的 (ul1577)
3750 vrms/1 最小值
注意事项: 它 是 建议 那 正常 静态 注意事项 是 已拍摄 入点 搬运 和 总成 的 这个 组件 至
防止 损伤 和/或 降解 哪个 将 是 诱导 由 esd.
iec/en/din en 60747-5-2
已批准
v
IORM
= 630 v
峰值
(hcpl-3150 选项 060 仅)
v
IORM
= 891 v
峰值
(hcpl-
315j) csa 已认证
应用程序
• 隔离 igbt/场效应晶体管
闸门 驱动器
• 交流电 和 brushless 直流 电机
驱动器
• 工业 逆变器
• 开关 模式 电源
供应品 (smps)
• 不间断 电源
供应品 (ups)
描述
这 hcpl-315x 由 的 一个
led指示灯 光学 耦合 至 一个
综合 电路 与 一个 电源
输出 舞台. 这个 光耦合器 是
理想情况下 适合 用于 驾驶 电源
igbts 和 mosfets 已使用 入点
电机 控制 逆变器 应用程序-
区域. 这 高 操作 电压
范围 的 这 输出 舞台 专业版-
vides 这 驱动器 电压 必填项
由 闸门 受控 设备. 这
电压 和 电流 提供的 由
这个 光耦合器 使 它 理想情况下
适合 用于 直接 驾驶 igbts
与 额定值 向上 至 1200 v/50 一个.
用于 igbts 与 较高 额定值,
这 hcpl-3150/315j 可以 是 已使用
至 驱动器 一个 离散 电源 舞台
哪个 驱动器 这 igbt 闸门.
一个 0.1
µ
f 旁路 电容器 必须 是 已连接 之间 这 v
抄送
和 v
ee
针脚 用于 每个 频道.
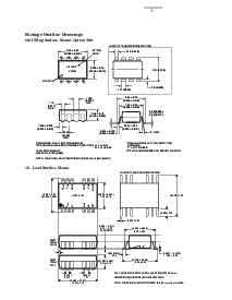
功能 图表
1
3
盾牌
2
4
8
6
7
5
n/c
阴极
阳极
n/c
v
抄送
v
o
v
o
v
ee
hcpl-3150
1
3
盾牌
2
8
16
14
15
9
n/c
阴极
阳极
n/c
v
抄送
v
ee
v
o
v
ee
7
6
10
11
阴极
阳极
v
o
v
抄送
盾牌
hcpl-315j
资料评论区:
点击回复标题作者最后回复时间

标 题:
内 容:
用户名:
手机号:    (*未登录用户需填写手机号,手机号不公开,可用于网站积分.)
      
关于我们 | 联系我们
电    话13410210660             QQ : 84325569   点击这里与集成电路资料查询网联系
联系方式: E-mail:CaiZH01@163.com