>┊
首页 | 最新需求 | 最新现货 | IC库存 | 供应商 | IC英文资料库 | IC中文资料库 | IC价格 | 电路图 | 应用资料 | 技术资料
 IC型号: 
您现在的位置:首页 >  IC英文资料库 进入手机版 
 
资料编号:549480
 
资料名称:PIC12CE519-04E/SN
 
文件大小: 550.68K
   
说明
 
介绍:
8-Pin, 8-Bit CMOS Microcontroller with EEPROM Data Memory
 
 


: 点此下载
 
1
浏览型号PIC12CE519-04E/SN的Datasheet PDF文件第2页
2
浏览型号PIC12CE519-04E/SN的Datasheet PDF文件第3页
3
浏览型号PIC12CE519-04E/SN的Datasheet PDF文件第4页
4
浏览型号PIC12CE519-04E/SN的Datasheet PDF文件第5页
5
浏览型号PIC12CE519-04E/SN的Datasheet PDF文件第6页
6
浏览型号PIC12CE519-04E/SN的Datasheet PDF文件第7页
7
浏览型号PIC12CE519-04E/SN的Datasheet PDF文件第8页
8
浏览型号PIC12CE519-04E/SN的Datasheet PDF文件第9页
9
 
本平台电子爱好着纯手工中文简译:截至2020/5/17日,支持英文词汇500个
1998 微芯片 技术 公司
初步
ds40172b-第页 1
设备 包括 入点 这个 数据 工作表:
PIC12CE518 PIC12CE519
高性能 risc cpu:
仅 33 单独 字 说明 至 学习
全部 说明 是 单独 循环 (1
µ
s) 除了 用于
程序 分支机构 哪个 是 双循环
操作 速度: 直流 - 4 mhz 时钟 输入
直流 - 1
µ
s 说明书 循环
12-有点 宽 说明
8-有点 宽 数据 路径
特殊 功能 硬件 寄存器
两级 深 硬件 堆栈
直接, 间接 和 相对 寻址 模式 用于
数据 和 说明
外围设备 特点:
8-有点 实时 时钟/计数器 (tmr0) 与 8-有点
可编程 预分频器
1,000,000 擦除/写 循环 可擦可编程只读存储器 数据
记忆
可擦可编程只读存储器 数据 保留 > 40 年
设备
记忆
非易失存储器
程序
ram
数据
可擦可编程只读存储器
数据
PIC12CE518 512 x 12 25 x 8 16 x 8
PIC12CE519 1024 x 12 41 x 8 16 x 8
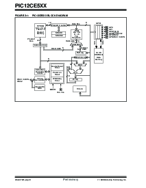
管脚 图表:
特殊 微控制器 特点:
在电路中 串行 编程 (icsp™) 的 专业版-
克 记忆 (通过 两个 针脚)
内部 4 mhz rc 振荡器 与 可编程
校准
通电 重置 (por)
设备 重置 计时器 (drt)
看门狗 计时器 (wdt) 与 其 自己的 片上 rc
振荡器 用于 可靠 操作
可编程 代码-保护
电源 正在保存 睡眠 模式
唤醒 从 睡眠 开启 管脚 变更
内部 弱 引体向上 开启 我/o 针脚
内部 上拉 开启 mclr
管脚
可选择 振荡器 选项:
- intrc: 内部 4 mhz rc 振荡器
- extrc: 外部 低成本 rc 振荡器
- xt: 标准 水晶/谐振器
- lp: 电源 正在保存, 低 频率 水晶
cmos 技术:
低-电源, 高速 cmos 非易失存储器/可擦可编程只读存储器
技术
完全 静态 设计
宽 温度 范围:
- 商业: 0
°
c 至 +70
°
c
- 工业: -40
°
c 至 +85
°
c
- 扩展: -40
°
c 至 +125
°
c
宽 操作 电压 范围:
-商业: 2.5v 至 5.5v
-工业: 2.5v 至 5.5v
-扩展: 2.5v 至 5.5v
低 电源 消费
- &指示灯; 2 ma 典型 @ 5v, 4 mhz
- 15
µ
一个 典型 @ 3v, 32 khz
- &指示灯; 1
µ
一个 典型 备用 电流
pdip, soic, 窗口化 cerdip
PIC12CE518
PIC12CE519
gp5/osc1/clkin
gp4/osc2
gp3/mclr
/v
pp
v
dd
1
2
3
4
8
7
6
5
v
ss
GP0
GP1
gp2/t0cki
PIC12CE5XX
8-管脚, 8-有点 cmos 微控制器 与
可擦可编程只读存储器 数据 记忆
资料评论区:
点击回复标题作者最后回复时间

标 题:
内 容:
用户名:
手机号:    (*未登录用户需填写手机号,手机号不公开,可用于网站积分.)
      
关于我们 | 联系我们
电    话13410210660             QQ : 84325569   点击这里与集成电路资料查询网联系
联系方式: E-mail:CaiZH01@163.com