>┊
首页 | 最新需求 | 最新现货 | IC库存 | 供应商 | IC英文资料库 | IC中文资料库 | IC价格 | 电路图 | 应用资料 | 技术资料
 IC型号: 
您现在的位置:首页 >  IC英文资料库 进入手机版 
 
资料编号:596587
 
资料名称:SAB80C166W
 
文件大小: 878.78K
   
说明
 
介绍:
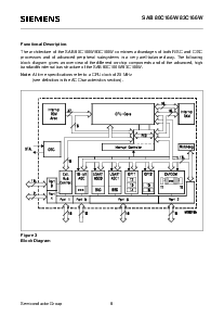
High-Performance CMOS 16-Bit Microcontrollers
 
 


: 点此下载
 
1
浏览型号SAB80C166W的Datasheet PDF文件第2页
2
浏览型号SAB80C166W的Datasheet PDF文件第3页
3
浏览型号SAB80C166W的Datasheet PDF文件第4页
4
浏览型号SAB80C166W的Datasheet PDF文件第5页
5
浏览型号SAB80C166W的Datasheet PDF文件第6页
6
浏览型号SAB80C166W的Datasheet PDF文件第7页
7
浏览型号SAB80C166W的Datasheet PDF文件第8页
8
浏览型号SAB80C166W的Datasheet PDF文件第9页
9
 
本平台电子爱好着纯手工中文简译:截至2020/5/17日,支持英文词汇500个
半导体 集团 1 10.94
高 业绩 16-有点 cpu 与 4-舞台 管道
100 ns 说明书 循环 时间 在 20 mhz cpu 时钟
500 ns 乘法 (16
×
16 比特), 1
µ
s 事业部 (32 / 16 有点)
增强型 boolean 有点 操纵 设施
基于寄存器 设计 与 多个 变量 注册 银行
单循环 上下文 开关 支持
向上 至 256 千字节 线性 地址 空间 用于 代码 和 数据
1 kbyte 片上 ram
32 千字节 片上 rom (sab 83c166w 仅)
可编程 外部 总线 特性 用于 不同的 地址 范围
8-有点 或 16-有点 外部 数据 总线
多路复用 或 解复用 外部 地址/数据 公共汽车
保持 和 保持-承认 总线 仲裁 支持
512 字节数 片上 特殊 功能 注册 面积
慢车 和 电源 向下 模式
8-频道 中断驱动 单循环 数据 转让 设施 通过 外围设备 事件
控制器 (pec)
16-优先-水平 中断 系统
10-频道 10-有点 一个/d 变频器 与 9.7
µ
s 换算 时间
16-频道 捕获/比较 单位
两个 多-功能 概述 目的 计时器 单位 与 5 计时器
两个 串行 频道 (usarts)
可编程 看门狗 计时器
向上 至 76 概述 目的 我/o 线条
直接 时钟 输入 无 预分频器
支持 由 一个 wealth 的 发展 工具 喜欢 c-编译器, 宏-汇编程序 软件包,
仿真器, 评价 板, hll-调试器, 模拟器, 逻辑 分析仪 disassemblers,
编程 板
片上 引导程序 装载机
100-管脚 塑料 mqfp 包装 (eiaj)
c16x-家庭 的
高性能 cmos 16-有点 微控制器
初步
sab 80c166w/83c166w / 83c166w 16-有点 微控制器
sab 80c166w/
83c166w/
83C166W
资料评论区:
点击回复标题作者最后回复时间

标 题:
内 容:
用户名:
手机号:    (*未登录用户需填写手机号,手机号不公开,可用于网站积分.)
      
关于我们 | 联系我们
电    话13410210660             QQ : 84325569   点击这里与集成电路资料查询网联系
联系方式: E-mail:CaiZH01@163.com