>┊
首页 | 最新需求 | 最新现货 | IC库存 | 供应商 | IC英文资料库 | IC中文资料库 | IC价格 | 电路图 | 应用资料 | 技术资料
 IC型号: 
您现在的位置:首页 >  IC英文资料库 进入手机版 
 
资料编号:60494
 
资料名称:AM29DL324GT90
 
文件大小: 1019.2K
   
说明
 
介绍:
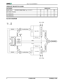
32 Megabit (4 M x 8-Bit/2 M x 16-Bit) CMOS 3.0 Volt-only, Simultaneous Operation Flash Memory
 
 


: 点此下载
 
1
浏览型号AM29DL324GT90的Datasheet PDF文件第2页
2
浏览型号AM29DL324GT90的Datasheet PDF文件第3页
3
浏览型号AM29DL324GT90的Datasheet PDF文件第4页
4
浏览型号AM29DL324GT90的Datasheet PDF文件第5页
5
浏览型号AM29DL324GT90的Datasheet PDF文件第6页
6
浏览型号AM29DL324GT90的Datasheet PDF文件第7页
7
浏览型号AM29DL324GT90的Datasheet PDF文件第8页
8
浏览型号AM29DL324GT90的Datasheet PDF文件第9页
9
 
本平台电子爱好着纯手工中文简译:截至2020/5/17日,支持英文词汇500个
july 2003
这 以下内容 文件 指定 spansion 记忆产品 那 是 现在 提供 由 两者都有 高级
微型 设备 和 富士通. 虽然the?docume?ntsm一个ke?dwththe?n一个me?ofthe?comp一个nyth一个tog-
目地 已开发 这 规格, 这些 产品将 是 提供 至 铜stomers 的 两者都有 amd 和
富士通.
连续性 的 规格
那里 是 否 变更 至 这个 数据表 作为 一个 结果 的 提供 这 设备 作为 一个 spansion 产品. 任何
变更 那 有 被 制造 是 这 结果 的 正常 数据表 改进 和 是 已注明 入点 这
和 变更 将 是 已注明 入点 一个 修订 摘要.
连续性 的 订购 零件 编号
amd 和 富士通 继续 至 支持 现有 零件编号 开始 与 “am” 和 “mbm”. 至 订单
这些 产品, 请 使用 开启ly 这 订购 零件 编号 已列出 入点 这个 文件.
用于 更多 信息
请 联系人 你的 本地 amd 或 富士通 销售办公室 用于 附加 信息 关于 spansion
记忆 解决方案.
Am29DL32xG
数据 工作表
出版物 号码
25686
修订
B
修正案 +
8
问题 日期
二月 9, 2005
用于 新建 设计 涉及 tsop 空调组件年龄, s29jl032h 取代 am29dl32xg 和 是 这 工厂推荐
迁移 路径. 请 参考 至 这 s29jl032h 数据工作表 用于 规格 和 订购 信息.
用于 新建 设计 涉及 细距 bga (fbga) 软件包, s29pl032j 取代 am29dl32xg 和 是 这
工厂推荐 迁移 路径. 请 参考 至这 s29pl032j 数据表 用于 规格 和 订购
信息.
资料评论区:
点击回复标题作者最后回复时间

标 题:
内 容:
用户名:
手机号:    (*未登录用户需填写手机号,手机号不公开,可用于网站积分.)
      
关于我们 | 联系我们
电    话13410210660             QQ : 84325569   点击这里与集成电路资料查询网联系
联系方式: E-mail:CaiZH01@163.com