>┊
首页 | 最新需求 | 最新现货 | IC库存 | 供应商 | IC英文资料库 | IC中文资料库 | IC价格 | 电路图 | 应用资料 | 技术资料
 IC型号: 
您现在的位置:首页 >  IC英文资料库 进入手机版 
 
资料编号:63433
 
资料名称:CD74HC4024M96
 
文件大小: 283.75K
   
说明
 
介绍:
High-Speed CMOS Logic 7-Stage Binary Ripple Counter
 
 


: 点此下载
 
1
浏览型号CD74HC4024M96的Datasheet PDF文件第2页
2
浏览型号CD74HC4024M96的Datasheet PDF文件第3页
3
浏览型号CD74HC4024M96的Datasheet PDF文件第4页
4
浏览型号CD74HC4024M96的Datasheet PDF文件第5页
5
浏览型号CD74HC4024M96的Datasheet PDF文件第6页
6
浏览型号CD74HC4024M96的Datasheet PDF文件第7页
7
浏览型号CD74HC4024M96的Datasheet PDF文件第8页
8
浏览型号CD74HC4024M96的Datasheet PDF文件第9页
9
 
本平台电子爱好着纯手工中文简译:截至2020/5/17日,支持英文词汇500个
1
数据 工作表 获得 从 harris 半导体
SCHS202C
特点
完全 静态 操作
缓冲 输入
普通 重置
负 边缘 时钟
扇出 (结束 温度 范围)
- 标准 产出 . . . . . . . . . . . . . . . 10 lsttl 荷载
- 总线 驾驶员 产出 . . . . . . . . . . . . . 15 lsttl 荷载
宽 操作 温度 范围 . . . -55
o
c 至 125
o
c
平衡式 传播 延迟 和 过渡 次
Signi 电源 减少 比较 至 lsttl
逻辑 ics
hc 类型
- 2v 至 6v 操作
- 高 噪声 免疫: n
il
= 30%, n
ih
= 30% 的 v
抄送
在 v
抄送
= 5v
hct 类型
- 4.5v 至 5.5v 操作
- 直接 lsttl 输入 逻辑 兼容性,
v
il
= 0.8v (最大值), v
ih
= 2v (最小)
- cmos 输入 兼容性, 我
l
1
µ
一个 在 v
ol
, v
描述
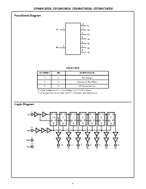
’HC4024 ’HCT4024 7-舞台 波纹进位 二进制
计数器. 全部 计数器 阶段 主从 flip-fl.
舞台 预付款 一个 计数 开启
过渡 每个 输入 脉冲; 一个 电压 水平 开启 MR
线 重置 全部 计数器 他们的 州. 全部 输入
产出 是 缓冲.
引出线
cd54hc4024, cd54hct4024
(cerdip)
CD74HC4024
(pdip, soic, tssop)
CD74HCT4024
(pdip, soic)
顶部 查看
订购 信息
零件 号码
温度 范围
(
o
c) 包装
CD54HC4024F3A -55 至 125 14 ld cerdip
CD54HCT4024F3A -55 至 125 14 ld cerdip
CD74HC4024E -55 至 125 14 ld pdip
CD74HC4024M -55 至 125 14 ld soic
CD74HC4024MT -55 至 125 14 ld soic
CD74HC4024M96 -55 至 125 14 ld soic
CD74HC4024PW -55 至 125 14 ld tssop
CD74HC4024PWR -55 至 125 14 ld tssop
CD74HC4024PWT -55 至 125 14 ld tssop
CD74HCT4024E -55 至 125 14 ld pdip
CD74HCT4024M -55 至 125 14 ld soic
备注: 订购, 使用 整个 零件 号码. suffixes 96
表示 胶带 卷轴. suffix t 表示 一个 小批量
卷轴 的 250.
cp
MR
q
7
q
6
q
5
q
4
v
抄送
nc
q
1
q
2
nc
q
3
nc
1
2
3
4
5
6
7
14
13
12
11
10
9
8
十一月 1997 - 修订 october 2003
注意事项: 这些 设备 是 敏感 至 静电 放电. 用户 应该 跟着 适当的 集成电路 搬运 程序.
版权
©
2003, 德州 仪器仪表 股份公司
cd54hc4024, cd74hc4024,
cd54hct4024, cd74hct4024
高速 cmos 逻辑
7-舞台 二进制 波纹 计数器
[ /标题
(cd74
HC402
4,
CD74
HCT40
24)
/sub-
项目
(高
速度
CMOS
资料评论区:
点击回复标题作者最后回复时间

标 题:
内 容:
用户名:
手机号:    (*未登录用户需填写手机号,手机号不公开,可用于网站积分.)
      
关于我们 | 联系我们
电    话13410210660             QQ : 84325569   点击这里与集成电路资料查询网联系
联系方式: E-mail:CaiZH01@163.com