>┊
首页 | 最新需求 | 最新现货 | IC库存 | 供应商 | IC英文资料库 | IC中文资料库 | IC价格 | 电路图 | 应用资料 | 技术资料
 IC型号: 
您现在的位置:首页 >  IC英文资料库 进入手机版 
 
资料编号:641986
 
资料名称:TC913A
 
文件大小: 48.85K
   
说明
 
介绍:
DUAL AUTO-ZEROED OPERATIONAL AMPLIFIERS
 
 


: 点此下载
 
1
浏览型号TC913A的Datasheet PDF文件第2页
2
浏览型号TC913A的Datasheet PDF文件第3页
3
浏览型号TC913A的Datasheet PDF文件第4页
4
浏览型号TC913A的Datasheet PDF文件第5页
5
浏览型号TC913A的Datasheet PDF文件第6页
6
浏览型号TC913A的Datasheet PDF文件第7页
7
浏览型号TC913A的Datasheet PDF文件第8页
8
浏览型号TC913A的Datasheet PDF文件第9页
9
 
本平台电子爱好着纯手工中文简译:截至2020/5/17日,支持英文词汇500个
2002 微芯片 技术 公司 ds21482b-第页 1
tc913a/tc913b
特点
第一 单片 自动-归零
运营 放大器
斩波器 放大器 业绩 外部
电容器
-v
操作系统
:15
µ
VMax
-v
操作系统
: 漂移; 0.15
µ
v/°c 最大值
- 保存 成本 外部 电容器
SOIC 软件包 可用
直流 增益; 120dB
供应 电流; 650
µ
一个
输入 电压 噪声
-0.65
µ
v
p-p
(0.1hz 10hz)
普通 模式 电压 范围
-v
ss
v
dd
-2v
普通 模式 拒收; 116dB
单独 供应 操作:
-±3.3vto±8.3v
- +6.5v +16V
优秀 交流电 操作 特性
- 回转 费率; 2.5v/
µ
- 统一增益 带宽; 1.5mhz
管脚 兼容 lm358, op-14, mc1458,
icl7621, tl082, TLC322
应用程序
仪器仪表
医疗 仪器仪表
嵌入式 控制
温度 传感器 放大器
应变 量规 放大器
设备 选择
包装 类型
概述 描述
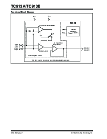
TC913 世界's 第一 完成 单片,
自动-归零 运营 放大器. TC913 一个
新建 标准 用于 电源, 精度 双-运营
放大器. 斩波器稳定 自动-归零 放大器-
ers 报价 偏移量 电压 错误 定期 山姆-
pling 偏移量 错误, 存储 校正 电压 开启
电容器. 上一个 单独 放大器 设计 必填项
两个 用户提供的, 外部 0.1
µ
f 错误 存储 科瑞克-
操作 电容器 很多 大型 用于 片上 integra-
操作. 独一无二 TC913 体系结构 需要 较小
电容器, 制作 片上 集成 可能.
微伏 偏移量 级别 已实现
外部
电容器 必填项.
TC913 系统 好处 明显的 con-
trasted 一个 TC7650 斩波器 放大器 电路 imple-
心理状态. 一个 单独 TC913 替换 两个 tc7650's
电容器. 五个 组件 总成 步骤
已淘汰.
TC913 引出线 火柴 许多 受欢迎 双-歌剧-
国家 放大器: op-04, tlc322, lm358, ICL7621
典型 示例. 入点 许多 应用程序, 操作
5V 电源 供应品 单独 供应品,
TC913 优惠 上级 电气 业绩, 可以
一个 功能 drop-in 更换; 已打印 电路
返工 必要的. tc913's 偏移量
电压 错误 消除 偏移量 电压 配平
电位计 经常 需要 双极性
准确度 CMOS 运营 放大器.
TC913 需要 已满 优势 微芯片's
专有 CMOS 技术. 统一 增益 带宽
1.5mhz 回转 费率 2.5v/
µ
秒.
零件 号码 包装
透射电镜p.
范围
偏移量
vol助教ge?
TC913ACOA 8-管脚 SOIC 0°C
+70°C
15
µ
v
TC913ACPA 8-管脚 PDIP 0°C
+70°C
15
µ
v
TC913BCOA 8-管脚 SOIC 0°C
+70°C
30
µ
v
TC913BCPA 8-管脚 PDIP 0°C
+70°C
30
µ
v
1
2
3
4
6
5
-入点 b
7
8out 一个
-入点 一个
+in 一个
v
ss
v
ss
v
dd
v
dd
+in b
PDIP
SOIC
TC913ACPA
TC913BCPA
TC913ACOA
TC913BCOA
出点 b
+
-
-
+
一个
B
1
2
3
4
6
5
-入点 b
7
8out 一个
-入点 一个
+in 一个
+in b
出点
B
+
-
-
+
一个
B
自动-归零 运营 放大器
资料评论区:
点击回复标题作者最后回复时间

标 题:
内 容:
用户名:
手机号:    (*未登录用户需填写手机号,手机号不公开,可用于网站积分.)
      
关于我们 | 联系我们
电    话13410210660             QQ : 84325569   点击这里与集成电路资料查询网联系
联系方式: E-mail:CaiZH01@163.com