>┊
首页 | 最新需求 | 最新现货 | IC库存 | 供应商 | IC英文资料库 | IC中文资料库 | IC价格 | 电路图 | 应用资料 | 技术资料
 IC型号: 
您现在的位置:首页 >  IC英文资料库 进入手机版 
 
资料编号:65077
 
资料名称:LM2904-Q1
 
文件大小: 199.92K
   
说明
 
介绍:
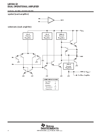
DUAL OPERATIONAL AMPLIFIERS
 
 


: 点此下载
 
1
浏览型号LM2904-Q1的Datasheet PDF文件第2页
2
浏览型号LM2904-Q1的Datasheet PDF文件第3页
3
浏览型号LM2904-Q1的Datasheet PDF文件第4页
4
浏览型号LM2904-Q1的Datasheet PDF文件第5页
5
浏览型号LM2904-Q1的Datasheet PDF文件第6页
6
浏览型号LM2904-Q1的Datasheet PDF文件第7页
7
浏览型号LM2904-Q1的Datasheet PDF文件第8页
8
浏览型号LM2904-Q1的Datasheet PDF文件第9页
9
 
本平台电子爱好着纯手工中文简译:截至2020/5/17日,支持英文词汇500个

  
slos414e − 将2003 − 修订 六月 2004
1
post 办公室 框 655303
达拉斯市, 德州 75265
资质 入点 符合 与
aec-q100
合格 用于 汽车 应用程序
客户特定 配置 控制
可以 是 支持 沿 与
专业-变更 批准
esd 保护 超过 500 v 按
密耳-标准-883, 方法 3015; 超过 200 v
使用 机器 型号 (c = 200 pf, 右 = 0)
低 电源电流 排水管 独立 的
供应 电压 . . . 0.7 ma 典型值
共模 输入 电压 范围
包括 接地, 允许 直接 感应
近 接地
最大额定值 供应 电压:
− 非-v 设备 . . .
±
26 v
− v-后缀 设备s...
±
32 v
联系人 工厂 用于 详细信息. q100 资质 数据 可用 开启
请求.
低 输入 偏差 和 偏移量 参数:
− 输入 偏移量 电压 ...3 mv 典型值
− 输入 偏移量 电流 ...2 不适用 典型值
− 输入 偏差 电流 . . . 20 不适用 典型值
开环 差速器 电压
放大 . . . 100 v/mv 典型值
内部 频率 补偿
描述/订购 信息
这个 设备 由 的 两个 独立, 高-增益, 频率-已补偿 运营 放大器 设计
至 操作 从 一个 单独 供应 结束 一个 宽 范围 的 电压. 操作 从 拆分 供应品 是 可能 作为 长
作为 这 差异 之间 这 两个 供应品 是 3 v 至 26v (3 v 至 32 v 用于v-后缀 设备), 和 v
抄送
是 在 最小
1.5 v 更多 正 比 这 输入 共模 电压. 这 低 电源电流 排水管 是 独立 的 这
震级 的 这 供应 电压.
应用程序 包括 传感器 放大器, 直流 放大 块, 和 全部 这 常规 运营
放大器 电路 那 现在 可以 是 已实施 更多 很容易 入点 单独-供应-电压 系统. 用于 示例,
这些设备 可以 是 操作 直接 从 这 标准 5-v 供应 已使用 入点 数字 系统 和 很容易 提供
这 必填项 接口 电子产品 无 附加
±
5-v 供应品.
这 lm2904q 是 已制造 至 要求苛刻 汽车 要求.
订购 信息
t
一个
v
io
最大值
在 25
°
c
最大值 v
抄送
包装
可订购
零件 号码
顶侧
标记
7 mv 26 v soic (d) 胶带 和 卷轴 LM2904QDRQ1 2904Q1
7 mv 26 v tssop (pw) 胶带 和 卷轴 LM2904QPWRQ1 2904Q1
−40
°
c 至 125
°
c
7 mv 32 v soic (d) 胶带 和 卷轴 LM2904VQDRQ1 2904VQ1
−40
°
c 至 125
°
c
7 mv 32 v tssop (pw) 胶带 和 卷轴 LM2904VQPWRQ1 2904VQ1
2 mv 32 v soic (d) 胶带 和 卷轴 LM2904AVQDRQ1 2904AVQ
2 mv 32 v tssop (pw) 胶带 和 卷轴 LM2904AVQPWRQ1 2904AVQ
包装 图纸, 标准 填料 工程量, 热 数据, 符号化, 和 pcb 设计 准则 是 可用 在
www.ti.com/sc/包装.
请 是 意识到 那 一个 重要 通知 关于 可用能力, 标准 保修, 和 使用 入点 关键 应用程序 的
德州 仪器仪表 半导体 产品 和 免责声明 对此 出现 在 这 结束 的 这个 数据 工作表.
版权
2004, 德州 仪器仪表 股份公司
        
         
       
   
1
2
3
4
8
7
6
5
1OUT
1IN−
1IN+
v
抄送
2OUT
2IN−
2IN+
d 或 pw 包装
(顶部 查看)
资料评论区:
点击回复标题作者最后回复时间

标 题:
内 容:
用户名:
手机号:    (*未登录用户需填写手机号,手机号不公开,可用于网站积分.)
      
关于我们 | 联系我们
电    话13410210660             QQ : 84325569   点击这里与集成电路资料查询网联系
联系方式: E-mail:CaiZH01@163.com