>┊
首页 | 最新需求 | 最新现货 | IC库存 | 供应商 | IC英文资料库 | IC中文资料库 | IC价格 | 电路图 | 应用资料 | 技术资料
 IC型号: 
您现在的位置:首页 >  IC英文资料库 进入手机版 
 
资料编号:651607
 
资料名称:TL7705BCD
 
文件大小: 333.27K
   
说明
 
介绍:
SUPPLY-VOLTAGE SUPERVISORS
 
 


: 点此下载
 
1
浏览型号TL7705BCD的Datasheet PDF文件第2页
2
浏览型号TL7705BCD的Datasheet PDF文件第3页
3
浏览型号TL7705BCD的Datasheet PDF文件第4页
4
浏览型号TL7705BCD的Datasheet PDF文件第5页
5
浏览型号TL7705BCD的Datasheet PDF文件第6页
6
浏览型号TL7705BCD的Datasheet PDF文件第7页
7
浏览型号TL7705BCD的Datasheet PDF文件第8页
8
浏览型号TL7705BCD的Datasheet PDF文件第9页
9
 
本平台电子爱好着纯手工中文简译:截至2020/5/17日,支持英文词汇500个
tl7702b, tl7705b, tl7733b
电源电压 监事
slvs037m – 九月 1989 – 修订 将 2003
1
post 办公室 框 655303
达拉斯市, 德州 75265
d
通电 重置 发电机
d
自动 重置 世代 之后
电压 掉落
d
重置输出 已定义 从 v
抄送
d
精度 电压 传感器
d
温度-已补偿 电压
参考
d
真 和 补码 重置 产出
d
外部 可调 脉冲 持续时间
3212019
910111213
4
5
6
7
8
18
17
16
15
14
nc
感觉
nc
重置
nc
nc
树脂
nc
ct
nc
TL7705BM ...fk p组件
(顶部 查看)
nc
参考
nc
重置
nc
v
nc
nc
nc
抄送
1
2
3
4
8
7
6
5
参考
树脂
ct
v
抄送
感觉
重置
重置
TL77xxBC ...d 或 p p组件
TL7705BM . . . jg 包装
TL7705BQ ...d p组件
(顶部 查看)
1
2
3
4
5
10
9
8
7
6
nc
参考
树脂
ct
nc
v
抄送
感觉
重置
重置
TL7705BM ...u p组件
(顶部 查看)
nc – 否 内部 连接
nc – 否 内部 连接
描述/订购 信息
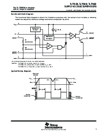
这 tl7702b, tl7705b, 和 tl7733b 是 集成电路 电源电压 监事 设计 用于 使用 作为
重置 控制器 入点 微型计算机 和 微处理器 系统. 这 电源电压 主管 显示器 这
供应 用于 欠压 条件 在 这 感觉 输入. 期间 电源 向上, 这 重置
输出 成为 活动
(低) 当 v
抄送
获得 一个 值 接近 1 v. 作为 v
抄送
方法 3 v (假设 那 感觉 是 以上 v
T+
),
这 延迟-计时器 功能 激活 一个 时间 延迟, 之后 哪个 产出 重置
和 重置 走 不活动 (高 和
低, 分别). 当 一个 欠压 条件 发生 期间 正常 操作, 产出 重置
重置 走 活动. 至 确保 那 一个 完成 重置 发生, 这 重置 产出 保持 活动 用于 一个 时间 延迟 之后
这 电压 在 这 感觉 输入 超过 这 积极向上 阈值 值. 这 时间 延迟 是 已确定 由
这 值 的 这 外部 电容器 c
t
: t
d
2.6
×
10
4
×
c
t
, 在哪里 c
t
是 入点 法拉 (f) 和 t
d
是 入点 秒 (s).
一个 外部 电容器 (通常 0.1
µ
f) 必须 是 已连接 至 参考 至 减少 这 影响力 的 快 瞬变 入点
这 供应 电压.
这 tl7702bc, tl7705bc, 和 tl7733bc 是 表征 用于 操作 从 0
°
c 至 70
°
c. 这 tl7702bi,
tl7705bi, 和 tl7733bi 是 表征 用于 操作 从 –40
°
c 至 85
°
c. 这 tl7705bq 是 表征
用于 操作 从 –40
°
c 至 125
°
c. 这 tl7705bm 是 表征 用于 操作 从 –55
°
c 至 125
°
c.
请 是 意识到 那 一个 重要 通知 关于 可用性, 标准 保修, 和 使用 入点 关键 应用程序 的
德州 仪器仪表 半导体 产品 和 免责声明 对此 出现 在 这 结束 的 这个 数据 工作表.
这 tl7705bm 是 废弃的
和 否 更长 是 提供的.
版权
2003, 德州 仪器仪表 股份公司
生产 数据 信息 是 电流 作为 的 出版物 日期.
产品 符合 至 规格 按 这 条款 的 德州 仪器仪表
标准 保修. 生产 加工 是否 不 必然 包括
测试 的 全部 参数.
开启 产品 符合 至 密耳-prf-38535, 全部 参数 是 已测试
除非 否则 已注明. 开启 全部 其他 产品, 生产
加工 是否 不 必然 包括 测试 的 全部 参数.
资料评论区:
点击回复标题作者最后回复时间

标 题:
内 容:
用户名:
手机号:    (*未登录用户需填写手机号,手机号不公开,可用于网站积分.)
      
关于我们 | 联系我们
电    话13410210660             QQ : 84325569   点击这里与集成电路资料查询网联系
联系方式: E-mail:CaiZH01@163.com