>┊
首页 | 最新需求 | 最新现货 | IC库存 | 供应商 | IC英文资料库 | IC中文资料库 | IC价格 | 电路图 | 应用资料 | 技术资料
 IC型号: 
您现在的位置:首页 >  IC英文资料库 进入手机版 
 
资料编号:713954
 
资料名称:SN74LV8151DWRE4
 
文件大小: 292.16K
   
说明
 
介绍:
10-BIT UNIVERSAL SCHMITT-TRIGGER BUFFER WITH 3-STATE OUTPUTS
 
 


: 点此下载
 
1
浏览型号SN74LV8151DWRE4的Datasheet PDF文件第2页
2
浏览型号SN74LV8151DWRE4的Datasheet PDF文件第3页
3
浏览型号SN74LV8151DWRE4的Datasheet PDF文件第4页
4
浏览型号SN74LV8151DWRE4的Datasheet PDF文件第5页
5
浏览型号SN74LV8151DWRE4的Datasheet PDF文件第6页
6
浏览型号SN74LV8151DWRE4的Datasheet PDF文件第7页
7
浏览型号SN74LV8151DWRE4的Datasheet PDF文件第8页
8
浏览型号SN74LV8151DWRE4的Datasheet PDF文件第9页
9
 
本平台电子爱好着纯手工中文简译:截至2020/5/17日,支持英文词汇500个

   
  
sces610 − october 2004
1
post 办公室 框 655303
达拉斯市, 德州 75265
2-v 至 5.5-v v
抄送
操作
最大值 t
pd
的 15 ns 在 5 v
施密特-触发器 输入 允许 用于 慢 输入
上升/坠落 时间
极性 控制 用于 y 产出 选择 真
或 互补 逻辑
典型 v
olp
(输出 接地 弹跳)
&指示灯;0.8 v 在 v
抄送
= 3.3 v, t
一个
= 25
°
c
典型 v
OHV
(输出 v
下冲)
>2.3 v 在 v
抄送
= 3.3 v, t
一个
= 25
°
c
支架 部分断电 模式
操作
全部 端口
闩锁 业绩 超过 250 ma 按
jesd 17
esd 保护 超过 jesd 22
− 2000-v 人体 型号 (a114-一个)
− 200-v 机器 型号 (a115-一个)
− 1000-v 已充电-设备 型号 (c101)
描述/订购 信息
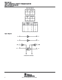
这 sn74lv8151 是 一个 10-有点 通用 施密特-触发器 buffer 与 3-州 产出, 设计 用于 2-v 至 5.5-v v
抄送
操作.这 逻辑 控制 (t/c) 管脚 允许 这 用户 至 配置 y1 至 y8 作为 非反相 或 反转 产出.
当 t/c
是 高, 这 y 产出 是 非倒置 (真 逻辑 ), 和 当 t/c是 低, 这 y 产出 是 倒置
(互补 逻辑).
当 输出-启用 (oe
) 输入 是 低, 这 设备 通行证 数据 从 dn 至 yn. 当 oe是 高, 这 y 产出
是 入点 这 高阻抗 州. 这 路径 一个 至 p 是 一个 简单施密特-触发器 缓冲区,和 这 路径 b 至 n 是 一个 简单
施密特-触发器 逆变器.
这个设备 是 完全 指定 用于 部分断电 应用程序 使用 我
. 这 我
电路 禁用 这 产出,
预防 损坏 电流 回流 通过 这 设备 当 它 是 通电 向下.
至 确保 这 高阻抗 州 期间 电源 向上 或 电源 向下, oe
应该 是 系紧 至 v
抄送
通过 一个 上拉
电阻; 这 最小值 值 的 这 电阻 是 已确定 由 这 电流-下沉 能力 的 这 驾驶员.
订购 信息
t
一个
包装
可订购
零件 号码
顶侧
标记
pdip − nt 导管 SN74LV8151NT SN74LV8151NT
−40
°
c 至 85
°
c
tssop − pw
导管 SN74LV8151PW
LV8151
−40 c 至 85 c
tssop − pw
胶带 和 卷轴 SN74LV8151PWR
LV8151
包装 图纸, 标准 填料 工程量, 热 数据, 符号化, 和 pcb 设计
准则 是 可用 在 www.ti.com/sc/包装.
nt 或 pw 包装
(顶部 查看)
t/c
一个
B
D1
D2
D3
D4
D5
D6
D7
D8
v
抄送
p
n
Y1
Y2
Y3
Y4
Y5
Y6
Y7
Y8
oe
1
2
3
4
5
6
7
8
9
10
11
12
24
23
22
21
20
19
18
17
16
15
14
13
版权
2004, 德州 仪器仪表 股份公司
请 是 意识到 那 一个 重要 通知 关于 可用能力, 标准 保修, 和 使用 入点 关键 应用程序 of
德州 仪器仪表 半导体 产品 和 免责声明 对此 出现 在 这 结束 的 这个 数据 工作表.
        
         
       
   
资料评论区:
点击回复标题作者最后回复时间

标 题:
内 容:
用户名:
手机号:    (*未登录用户需填写手机号,手机号不公开,可用于网站积分.)
      
关于我们 | 联系我们
电    话13410210660             QQ : 84325569   点击这里与集成电路资料查询网联系
联系方式: E-mail:CaiZH01@163.com