>┊
首页 | 最新需求 | 最新现货 | IC库存 | 供应商 | IC英文资料库 | IC中文资料库 | IC价格 | 电路图 | 应用资料 | 技术资料
 IC型号: 
您现在的位置:首页 >  IC英文资料库 进入手机版 
 
资料编号:793534
 
资料名称:HDSP-3353-HC000
 
文件大小: 340K
   
说明
 
介绍:
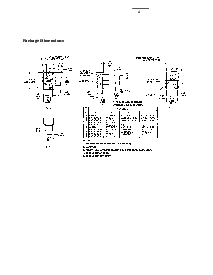
Low Current Seven Segment Displays
 
 


: 点此下载
 
1
浏览型号HDSP-3353-HC000的Datasheet PDF文件第2页
2
浏览型号HDSP-3353-HC000的Datasheet PDF文件第3页
3
浏览型号HDSP-3353-HC000的Datasheet PDF文件第4页
4
浏览型号HDSP-3353-HC000的Datasheet PDF文件第5页
5
浏览型号HDSP-3353-HC000的Datasheet PDF文件第6页
6
浏览型号HDSP-3353-HC000的Datasheet PDF文件第7页
7
浏览型号HDSP-3353-HC000的Datasheet PDF文件第8页
8
浏览型号HDSP-3353-HC000的Datasheet PDF文件第9页
9
 
本平台电子爱好着纯手工中文简译:截至2020/5/17日,支持英文词汇500个
特点
• 低 电源 消费
• 行业 标准 尺寸
• 行业 标准 引出线
• 选择 的 字符 尺寸
7.6 mm (0.30 入点), 10 mm (0.40
入点), 10.9 mm (0.43 入点), 14.2
mm (0.56 入点), 20 mm (0.80 入点)
• 选择 的 颜色
algaas 红色, 高 效率
• 优秀 外观
均匀 点亮 细分市场
±
50
°
查看 角片
• 设计 灵活性
普通 阳极 或 普通
阴极
单独 和 双 数字
左 和 右侧 手 十进制
点数
±
1. 溢出 字符
• 已分类 用于 夜光
强度
黄色 和 绿色 已分类
用于 颜色
使用 的 喜欢 类别 收益率 一个
制服 显示
• 优秀 用于 长 数字
字符串 多路复用
描述
这些 低 电流 七 细分市场
显示器 是 设计 用于 应用程序-
区域 要求 低 电源
消费. 他们 是 已测试 和
已选择 用于 他们的 优秀 低
电流 特性 至 确保
那 这 细分市场 是 匹配 在
低 电流. 驱动器 电流 作为
低 作为 1 ma 按 细分市场 是
可用.
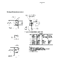
管脚 用于 管脚 等效 显示器
是 也 可用 入点 一个 标准
电流 或 高 灯光 环境
设计. 这 标准 电流
显示器 是 可用 入点 全部 颜色
和 是 理想 用于 大多数 应用程序-
区域. 这 高 灯光 环境
显示器 是 理想 用于 阳光
环境 或 长 字符串 长度.
用于 附加 信息 请参见
这 7.6 mm 微型 明亮 七
细分市场 显示器, 10 mm 七
细分市场 显示器, 7.6 mm/10.9
mm 七 细分市场 显示器,
14.2 mm 七 细分市场
显示器, 20 mm 七 细分市场
显示器, 或 高 灯光 环境
七 细分市场 显示器 数据
床单.
低 电流 七 细分市场
显示器
技术类 数据
hdsp-335x 系列
hdsp-555x 系列
hdsp-751x 系列
hdsp-a10x 系列
hdsp-a80x 系列
hdsp-a90x 系列
hdsp-e10x 系列
hdsp-f10x 系列
hdsp-g10x 系列
hdsp-h10x 系列
hdsp-k12x, k70x 系列
hdsp-n10x 系列
hdsp-n40x 系列
资料评论区:
点击回复标题作者最后回复时间

标 题:
内 容:
用户名:
手机号:    (*未登录用户需填写手机号,手机号不公开,可用于网站积分.)
      
关于我们 | 联系我们
电    话13410210660             QQ : 84325569   点击这里与集成电路资料查询网联系
联系方式: E-mail:CaiZH01@163.com