>┊
首页 | 最新需求 | 最新现货 | IC库存 | 供应商 | IC英文资料库 | IC中文资料库 | IC价格 | 电路图 | 应用资料 | 技术资料
 IC型号: 
您现在的位置:首页 >  IC英文资料库 进入手机版 
 
资料编号:983660
 
资料名称:HCPL-0731R1
 
文件大小: 272K
   
说明
 
介绍:
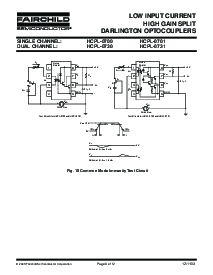
LOW INPUT CURRENT HIGH GAIN SPLIT DARLINGTON OPTOCOUPLERS
 
 


: 点此下载
 
1
浏览型号HCPL-0731R1的Datasheet PDF文件第2页
2
浏览型号HCPL-0731R1的Datasheet PDF文件第3页
3
浏览型号HCPL-0731R1的Datasheet PDF文件第4页
4
浏览型号HCPL-0731R1的Datasheet PDF文件第5页
5
浏览型号HCPL-0731R1的Datasheet PDF文件第6页
6
浏览型号HCPL-0731R1的Datasheet PDF文件第7页
7
浏览型号HCPL-0731R1的Datasheet PDF文件第8页
8
浏览型号HCPL-0731R1的Datasheet PDF文件第9页
9
 
本平台电子爱好着纯手工中文简译:截至2020/5/17日,支持英文词汇500个
包装 尺寸
12/11/03
第页 1 的 12
© 2003 仙童 半导体 公司
低 输入 电流
高 增益 拆分
darlington 光耦合器
单独 频道: hcpl-0700 hcpl-0701
双 频道: hcpl-0730 hcpl-0731
描述
这 hcpl-0700, hcpl-0701, hcpl-0730 和 hcpl-0731 光耦合器 组成 的 一个 algaas led指示灯 光学 耦合 至 一个 高
增益 拆分 darlington 光电探测器 已安置 入点 一个 紧凑型 8-管脚 小 大纲 包装. 这 hcpl-0730 和 hcpl-0731 设备
有 两个 频道 按 包装 用于 最佳 安装 密度.
这 拆分 darlington 配置 分离 这 输入 光电二极管 和 这 first 舞台 增益 从 这 输出 晶体管 许可证 lower
输出 饱和度 电压 和 较高 速度 操作 比 可能 与 常规 darlington 光电晶体管 光耦合器.
这 组合 的 一个 很 低 输入 电流 的 0.5 ma 和 一个 高 电流 转让 比率 的 2000% 使 这个 家庭 特别是
有用的 用于 输入 接口 至 mos, cmos, lsttl 和 eia rs232c, 同时 输出 兼容性 是 确保 至 cmos 作为 井 作为 高
扇出 ttl要求.
特点
低 输入 电流 – 0.5 ma
上级 ctr – 2000%
上级 cmr – 10 kv/µs
ctr 保证 0-70°c
u.l. 公认的 (file# e90700)
vde 0884 公认的 (file# 136616)
– 批准 待定 用于 hcpl-0730/0731
bsi 公认的 (file# 8661, 8662)
– hcpl-0700/0701 仅
应用程序
数字 逻辑 接地 隔离
电话 戒指 检测器
eia-rs-232c 线 接收器
高 普通 模式 噪声
线 接收器
µp 总线 隔离
电流 回路 接收器
真相 表
led指示灯
v
o
开启
备注
全部 尺寸 是 入点 英寸 (毫米)
铅 共面性 : 0.004 (0.10) 最大值
0.202 (5.13)
管脚 1
0.019 (0.48)
0.182 (4.63)
0.021 (0.53)
0.011 (0.28)
0.050 (1.27)
典型值
0.244 (6.19)
0.224 (5.69)
0.143 (3.63)
0.123 (3.13)
0.008 (0.20)
0.003 (0.08)
0.010 (0.25)
0.006 (0.16)
s
e?
入点
g
PLA
n
e?
0.164 (4.16)
0.144 (3.66)
1
2
3
4 5
6
7
8
+
_
v
f
v
抄送
v
B
v
o
hcpl0700 / hcpl0701
n/c
n/c
1
2
3
4 5
6
7
8
+
_
v
F1
v
抄送
v
01
v
02
hcpl0730 / hcpl0731
v
F2
_
+
资料评论区:
点击回复标题作者最后回复时间

标 题:
内 容:
用户名:
手机号:    (*未登录用户需填写手机号,手机号不公开,可用于网站积分.)
      
关于我们 | 联系我们
电    话13410210660             QQ : 84325569   点击这里与集成电路资料查询网联系
联系方式: E-mail:CaiZH01@163.com